| ||||||
| № п/п | Наименование | Код детали | ||||
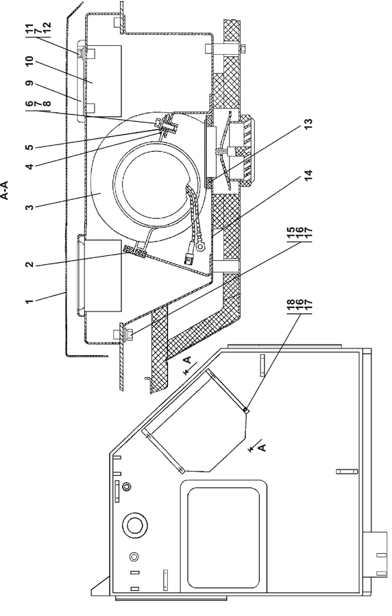
| 0 | Установка вентиляторов кабины | 312001-57-2СП(SP) | ||||
| 0 | Установка вентиляторов кабины | 312001-57-2-20СП(SP) | ||||
| 1 | Крышка | 312001-57-2 | ||||
| 1 | Крышка | 312001-57-2-20 | ||||
| 2 | Уплотнение | 700-40-6955-04 | ||||
| 3 | Вентилятор отопителя 423780 | 45 7375 3864 | ||||
| 4 | Кольцо | 700-40-6695 | ||||
| 5 | Втулка | 46-57-62 | ||||
| 5 | Втулка | 46-57-62-20 | ||||
| 6 | Болт М6-6g?20 ГОСТ 7798-70 | - | ||||
| 7 | Шайба 6Т ГОСТ 6402-70 | - | ||||
| 8 | Шайба 6 ГОСТ 6958-78 | 31 0120 | ||||
| 8 | Шайба 6 ГОСТ 6958-78 | 31 0120-20 | ||||
| 9 | Рамка | 312001-57-3 | ||||
| 9 | Рамка | 312001-57-3-20 | ||||
| 10 | Элемент фильтрующий воздушного фильтра ТУ 4591.014.00232058-98 | 12.1109.080 | ||||
| 11 | Болт М6-6g?16 ГОСТ 7798-70 | - | ||||
| 12 | Шайба 6 ГОСТ 11371-78 | 31 0110 | ||||
| 12 | Шайба 6 ГОСТ 11371-78 | 31 0110-20 | ||||
| 13 | Прокладка | 2501-57-82 | ||||
| 14 | Основание | 312001-57-101СП(SP) | ||||
| 14 | Основание | 312001-57-101-20СП | ||||
| 15 | Болт М8-6g?20 ГОСТ 7796-70 | - | ||||
| 16 | Шайба 8Т ГОСТ 6402-70 | - | ||||
| 17 | Шайба 8 ГОСТ 11371-78 | 31 0150 | ||||
| 17 | Шайба 8 ГОСТ 11371-78 | 31 0150-20 | ||||
| 18 | Болт М8-6g?16 ГОСТ 7796-70 | - | ||||
Обращаем Ваше внимание, что пункты отмеченные звездочкой, обязательны для заполнения.