| ||||||
| № п/п | Наименование | Код детали | ||||
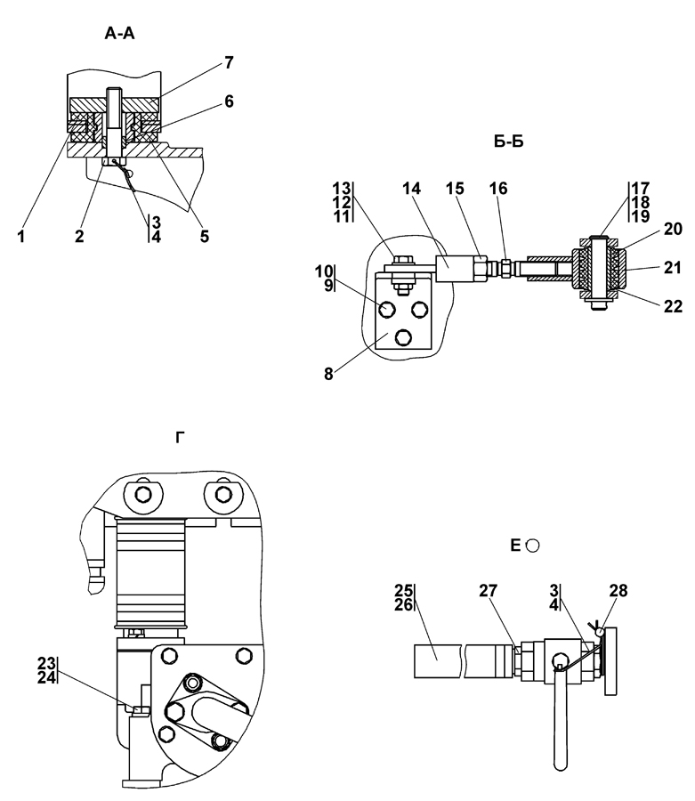
| 1 | Амортизатор | 2001-60-96 | ||||
| 2 | Болт 3М16?1,5-6g?70 ГОСТ 7796-70 | 28 0561 | ||||
| 2 | Болт 3М16?1,5-6g?70 ГОСТ 7796-70 | 28 0561-20 | ||||
| 3 | Проволока 1,6-О-С ГОСТ 3282-74 (взамен поз. 4) | - | ||||
| 4 | Проволока КС1,6 ГОСТ 792-67 (взамен поз. 3) | - | ||||
| 5 | Амортизатор | 2501-25-37СП(SP) | ||||
| 6 | Втулка | 2002-60-30 | ||||
| 6 | Втулка | 2002-60-30-20 | ||||
| 7 | Плита | 2002-60-29 | ||||
| 7 | Плита | 2002-60-29-20 | ||||
| 8 | Кронштейн | 0902-60-106-01СП(SP) | ||||
| 8 | Кронштейн | 0902-60-106-01-20СП | ||||
| 9 | Шайба 10 ОТ ГОСТ 6402-70 | - | ||||
| 10 | Болт М10-6g?30 ГОСТ 7796-70 | - | ||||
| 11 | Шайба 12?2 ГОСТ 11371-78 | 31 0210 | ||||
| 11 | Шайба 12?2 ГОСТ 11371-78 | 31 0210-20 | ||||
| 12 | Гайка М12?1,25 ГОСТ 15522-70 | 30 0220 | ||||
| 12 | Гайка М12?1,25 ГОСТ 15522-70 | 30 0220-20 | ||||
| 13 | Болт М12?1,25-6g?35 ГОСТ 7796-70 | - | ||||
| 14 | Втулка | 0902-60-105СП(SP) | ||||
| 14 | Втулка | 0902-60-105-20СП(SP) | ||||
| 15 | Гайка М16?1,5 ГОСТ 15522-70 | - | ||||
| 16 | Стержень | 2001-25-27 | ||||
| 16 | Стержень | 2001-25-27-20 | ||||
| 17 | Ось 6-16f9?75 ГОСТ 9650-80 | 47 0570 | ||||
| 18 | Шайба 16 ГОСТ 11371-78 | 31 0270 | ||||
| 18 | Шайба 16 ГОСТ 11371-78 | 31 0270-20 | ||||
| 19 | Шплинт 4?40 ГОСТ 397-79 | - | ||||
| 20 | Втулка | 40 0093 | ||||
| 21 | Втулка | 2001-60-103СП(SP) | ||||
| 21 | Втулка | 2001-60-103-20СП(SP) | ||||
| 22 | Втулка | 2501-25-108 | ||||
| 22 | Втулка | 2501-25-108-20 | ||||
| 23 | Болт М12?1,25-6g?95 ГОСТ 7811-70 | 28 2388 | ||||
| 23 | Болт М12?1,25-6g?95 ГОСТ 7811-70 | 28 2388-20 | ||||
| 24 | Шайба 12 ОТ ГОСТ 6402-70 | - | ||||
| 25 | Шланговый хомут DIN3017-А30-45/12С7-W2 | - | ||||
| 26 | Рукав | 46 0901-08 | ||||
| 26 | Рукав | 46 0901-08-20 | ||||
| 27 | Наконечник | 2002-43-42 | ||||
| 28 | Пломба свинцовая | 2001-80-4 | ||||
Обращаем Ваше внимание, что пункты отмеченные звездочкой, обязательны для заполнения.