| ||||||
| № п/п | Наименование | Код детали | ||||
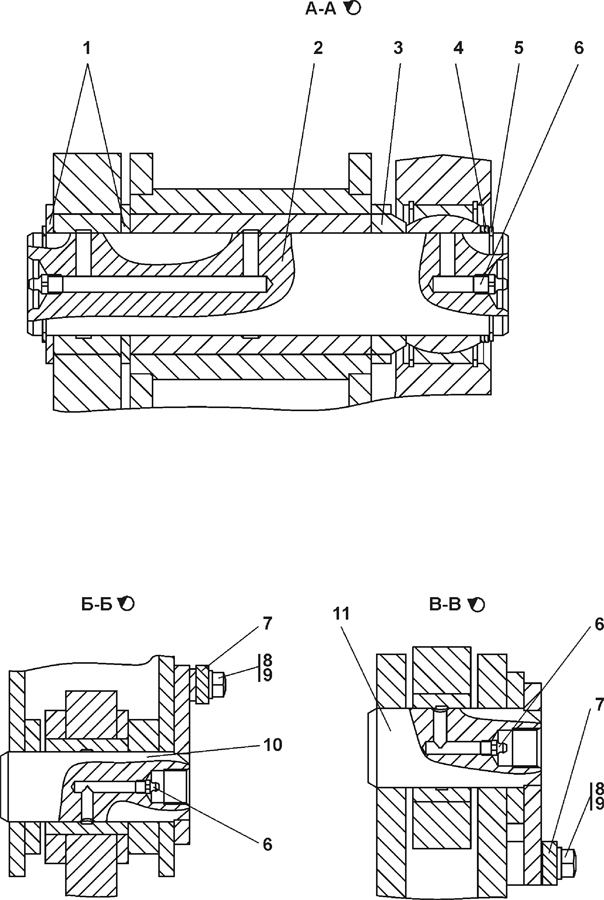
| 1 | Кольцо | 011101-97-8 | ||||
| 2 | Палец | 011101-97-4 | ||||
| 3 | Кольцо | 011101-97-5 | ||||
| 4 | Кольцо | 011101-97-6-01 | ||||
| 5 | Кольцо С55Ц9хр ГОСТ 13940-86 | 58 0550-01 | ||||
| 6 | Масленка 1,2Ц6хр ГОСТ 19853-74 | - | ||||
| 7 | Планка | 011101-97-2 | ||||
| 7 | Планка | 011101-97-2-20 | ||||
| 8 | Болт М12-6g?25 ГОСТ 7796-70 | - | ||||
| 8 | Масленка 1,2Кд6хр ГОСТ 19853-74 | - | ||||
| 9 | Шайба 12 ОТ ГОСТ 6402-70 | - | ||||
| 10 | Палец | 011101-97-10-01СП | ||||
| 11 | Палец | 011101-97-10-07СП | ||||
Обращаем Ваше внимание, что пункты отмеченные звездочкой, обязательны для заполнения.