| ||||||
| № п/п | Наименование | Код детали | ||||
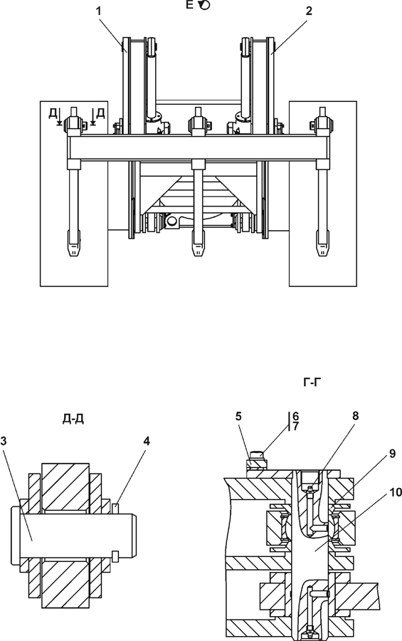
| 1 | Тяга верхняя | 011101-97-100СП(SP) | ||||
| 1 | Тяга верхняя | 011101-97-100-20СП | ||||
| 2 | Тяга верхняя | 011101-97-100-01СП | ||||
| 2 | Тяга верхняя | 011101-97-100-01-20СП | ||||
| 3 | Палец | 011101-97-1 | ||||
| 4 | Шплинт | 33 5900-01 | ||||
| 5 | Планка | 011101-97-2 | ||||
| 5 | Планка | 011101-97-2-20 | ||||
| 6 | Болт М12-6g?25 ГОСТ 7796-70 | - | ||||
| 7 | Шайба 12 ОТ ГОСТ 6402-70 | - | ||||
| 8 | Масленка 1,2Ц6хр ГОСТ 19853-74 | - | ||||
| 8 | Масленка 1,2Кд6хр ГОСТ 19853-74 | - | ||||
| 9 | Кольцо | 011101-97-7-01 | ||||
| 10 | Палец | 011101-97-10-06СП | ||||
Обращаем Ваше внимание, что пункты отмеченные звездочкой, обязательны для заполнения.