| ||||||
| № п/п | Наименование | Код детали | ||||
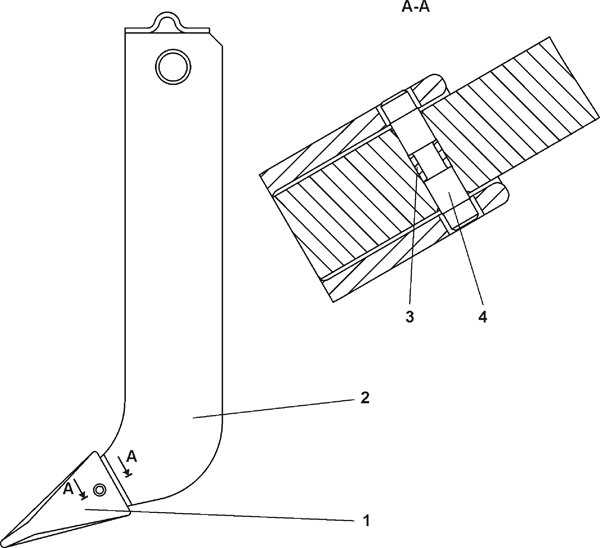
| 0 | Зуб | 011101-97-120СП(SP) | ||||
| 0 | Зуб | 011101-97-120-20СП | ||||
| 1 | Наконечник | 011101-97-160СП(SP) | ||||
| 1 | Наконечник | 011101-97-160-20СП | ||||
| 2 | Стойка | 011101-97-170СП(SP) | ||||
| 2 | Стойка | 011101-97-170-20СП | ||||
| 3 | Кольцо | 46-98-185 | ||||
| 3 | Кольцо | 46-98-185-20 | ||||
| 4 | Палец | 011101-97-126 | ||||
Обращаем Ваше внимание, что пункты отмеченные звездочкой, обязательны для заполнения.