| ||||||
| № п/п | Наименование | Код детали | ||||
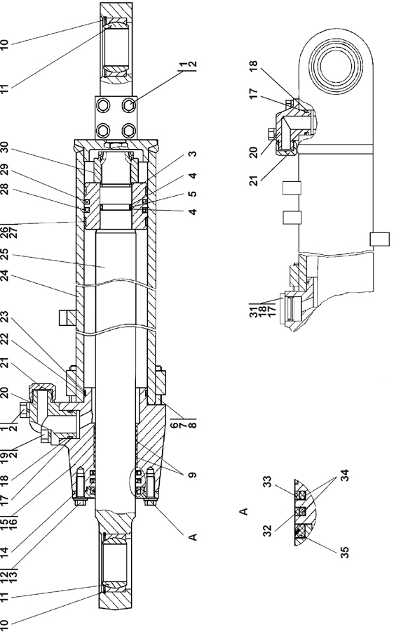
| 0 | Гидроцилиндр d100 | 011101-97-543--03СП | ||||
| 0 | Гидроцилиндр d100 | 011101-97-543-03-20СП | ||||
| 1 | Болт М10-6g?65 ГОСТ 7796-70 | 28 0285 | ||||
| 1 | Болт М10-6g?65 ГОСТ 7796-70 | 28 0285-20 | ||||
| 2 | Шайба 10 ОТ ГОСТ 6402-70 | - | ||||
| 3 | Поршень | 1101-26-603 | ||||
| 4 | Шайба защитная | 44 0005 | ||||
| 5 | Кольцо 042-050-46-2-51-1668 ТУ 2531-260-00149245-00 | - | ||||
| 6 | Болт М16?1,5-6g?120 ГОСТ 7795-70 (допускается замена на поз.7 совместно поз.15) | 28 0575 | ||||
| 6 | Болт М16?1,5-6g?120 ГОСТ 7795-70 | 28 0575-20 | ||||
| 7 | Болт 3М16?1,5-6g?70 ГОСТ 7796-70 (допускается замена на поз.6 совместно с поз.16) | 28 0561 | ||||
| 7 | Болт 3М16?1,5-6?70 ГОСТ 7796-70 | 28 0561-20 | ||||
| 8 | Шайба 16 ОТ ГОСТ 6402-70 | - | ||||
| 9 | Кольцо опорно-направляющее штоковое Е22Т-063-30-2,5 ТУ 2290-004-48774662-2002 | - | ||||
| 10 | Кольцо С85 Ц9хр ГОСТ 13941-86 | 58 0680-10 | ||||
| 10 | Кольцо С85 Ц9хр ГОСТ 13941-86 | 58 0680-20 | ||||
| 11 | Подшипник ШС55 ГОСТ 3635-78 | - | ||||
| 12 | Болт М12?1,25-6g?35 ГОСТ 7796-70 | - | ||||
| 13 | Шайба 12 ОТ ГОСТ 6402-70 | - | ||||
| 14 | Скребок | 1501-26-616 | ||||
| 15 | Крышка (допускается замена на поз.16 совместно с поз.6) | 1101-26-620 | ||||
| 16 | Крышка (допускается замена на поз.15 совместно с поз.7) | 1101-26-632 | ||||
| 17 | Кольцо 032-038-36-2-51-1668 ТУ 2531-260-00149245-00 | - | ||||
| 18 | Кольцо защитное | 2501-98-550 | ||||
| 19 | Болт М10-6g?30 ГОСТ 7796-70 | - | ||||
| 20 | Угольник | 011101-97-577 | ||||
| 20 | Угольник | 011101-97-577-20 | ||||
| 21 | Колпачок | 46-21-884 | ||||
| 22 | Кольцо защитное | 1101-26-610 | ||||
| 23 | Кольцо 094-100-36-2-51-1668 ТУ 2531-260-00149245-00 | - | ||||
| 24 | Корпус | 011101-97-545-02СП | ||||
| 25 | Шток | 011101-97-563-04 | ||||
| 25 | Шток | 011101-97-563-04-20 | ||||
| 26 | Втулка опорная (допускается замена на поз.27) | 1101-26-614 | ||||
| 27 | Кольцо опорно-направляющее поршневое Е21Т-100-12-3,0 ТУ 2290-004-48774662-2002 (допускается замена на поз.26) | - | ||||
| 28 | Кольцо уплотнительное | 1101-26-613 | ||||
| 29 | Кольцо 080-090-58-2-5-1668 ТУ 2531-260-00149245-00 | - | ||||
| 30 | Гайка специальная | 1101-26-615 | ||||
| 31 | Заглушка | 2501-26-150 | ||||
| 31 | Заглушка | 2501-26-150-20 | ||||
| 32 | Кольцо уплотнительное | 312001-26-109-01 | ||||
| 33 | Уплотнение штоковое Е01-063-12 ТУ 2290-001-48774662-2000 | - | ||||
| 34 | Кольцо 070-080-58-2-51-1668 ТУ 2531-260-00149245-00 | - | ||||
| 35 | Грязесъемник 3-d ГОСТ 24811-81 | 2501-93-506-04СП(SP) | ||||
Обращаем Ваше внимание, что пункты отмеченные звездочкой, обязательны для заполнения.