| ||||||
| № п/п | Наименование | Код детали | ||||
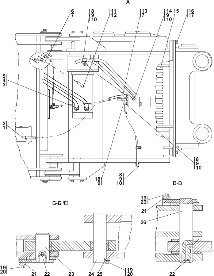
| 1 | Кольцо 026-032-36-2-51-1668 ТУ 2531-260-00149245-00 | - | ||||
| 2 | Штуцер | 46-26-1276 | ||||
| 2 | Штуцер | 46-26-1276-20 | ||||
| 3 | Контргайка | Н.036.23072 | ||||
| 4 | Кольцо 021-027-36-2-51-1668 ТУ 2531-260-00149245-00 | - | ||||
| 5 | Угольник ввертной | 41 5235 | ||||
| 6 | Рукав d8 | 311102-26-517-26СП | ||||
| 6 | Рукав d8 | 311102-26-517-26-20СП | ||||
| 7 | Кольцо 008-010-14-2-51-1668 ТУ 2531-260-00149245-00 | - | ||||
| 8 | Угольник | 311102-26-513СП(SP) | ||||
| 8 | Угольник | 311102-26-513-20СП | ||||
| 9 | Кольцо 018-022-25-2-51-1668 ТУ 2531-260-00149245-00 | - | ||||
| 10 | Контргайка | Н.036.23022 | ||||
| 10 | Контргайка | Н.036.23022-01 | ||||
| 11 | Штуцер ввертной | 311102-26-560 | ||||
| 11 | Штуцер ввертной | 311102-26-560-20 | ||||
| 12 | Кольцо 014-018-25-2-51-1668 ТУ 2531-260-00149245-00 | - | ||||
| 13 | Рукав d8 | 311102-26-517-34СП | ||||
| 13 | Рукав d8 | 311102-26-517-34-20СП | ||||
| 14 | Угольник поворотный | 311102-26-569 | ||||
| 14 | Угольник поворотный | 311102-26-569-20 | ||||
| 15 | Канат | 1101-96-110-01СП(SP) | ||||
| 16 | Болт М16?1,5-6g?55 ГОСТ 7796-70 | 28 0555 | ||||
| 16 | Болт М16?1,5-6g?55 ГОСТ 7796-70 | 28 0555-20 | ||||
| 17 | Шайба 16 ОТ ГОСТ 6402-70 | - | ||||
| 18 | Штуцер ввертной | 5001-26-78 | ||||
| 18 | Штуцер ввертной | 5001-26-78-20 | ||||
| 19 | Болт М12-6g?25 ГОСТ 7796-70 | - | ||||
| 20 | Шайба 12 ОТ ГОСТ 6402-70 | - | ||||
| 21 | Планка | 011101-97-2 | ||||
| 21 | Планка | 011101-97-2-20 | ||||
| 22 | Масленка1,2 Ц6хр ГОСТ 19853-74 | - | ||||
| 22 | Масленка1,2 Кд6хр ГОСТ 19853-74 | - | ||||
| 23 | Палец | 011101-97-10СП(SP) | ||||
| 24 | Ось | 311102-93-39-03 | ||||
| 24 | Ось | 311102-93-39-03-20 | ||||
| 25 | Пластина | 312501-94-103 | ||||
| 25 | Пластина | 312501-94-103-20 | ||||
| 26 | Палец | 011101-97-10-02СП(SP) | ||||
Обращаем Ваше внимание, что пункты отмеченные звездочкой, обязательны для заполнения.