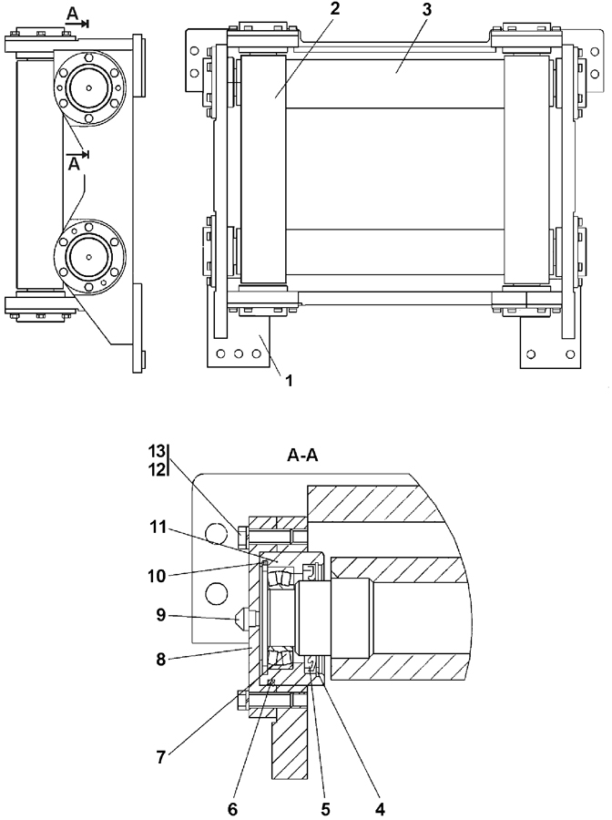
| ||||||
| № п/п | Наименование | Код детали | ||||
| 0 | Установка роликов | 0901-96-11СП(SP) | ||||
| 0 | Установка роликов | 0901-96-11-20СП(SP) | ||||
| 1 | Рама | 0901-96-107СП(SP) | ||||
| 1 | Рама | 0901-96-107-20СП(SP) | ||||
| 2 | Ось | 1101-96-124СП(SP) | ||||
| 2 | Ось | 1101-96-124-20СП(SP) | ||||
| 3 | Ось | 1101-96-124-01СП(SP) | ||||
| 3 | Ось | 1101-96-124-01-20СП | ||||
| 4 | Кольцо С90 ГОСТ 13941-86 | 700-58-2278 | ||||
| 5 | Манжета 1,2-65?90-3 ГОСТ 8752-79 OСТ 3805-146-78 | - | ||||
| 6 | Кольцо 104-110-36-2-51-1668 ТУ 2531-260-00149245-00 | - | ||||
| 7 | Подшипник 3509 ГОСТ 5721-75 | - | ||||
| 8 | Крышка | 1101-96-122 | ||||
| 8 | Крышка | 1101-96-122-20 | ||||
| 9 | Масленка 1,2 Ц6?р ГОСТ 19853-74 | - | ||||
| 9 | Масленка1,2 Кд6?р ГОСТ 19853-74 | - | ||||
| 10 | Кольцо С85 ГОСТ 13941-86 | 58 0680 | ||||
| 11 | Обойма | 1101-96-123 | ||||
| 12 | Шайба 12ОТ ГОСТ 6402-70 | - | ||||
| 13 | Болт М12-6g?55 ГОСТ 7796-70 | 28 0376 | ||||
| 13 | Болт М12-6g?55 ГОСТ 7796-70 | 28 0376-20 | ||||
Обращаем Ваше внимание, что пункты отмеченные звездочкой, обязательны для заполнения.