| ||||||
| № п/п | Наименование | Код детали | ||||
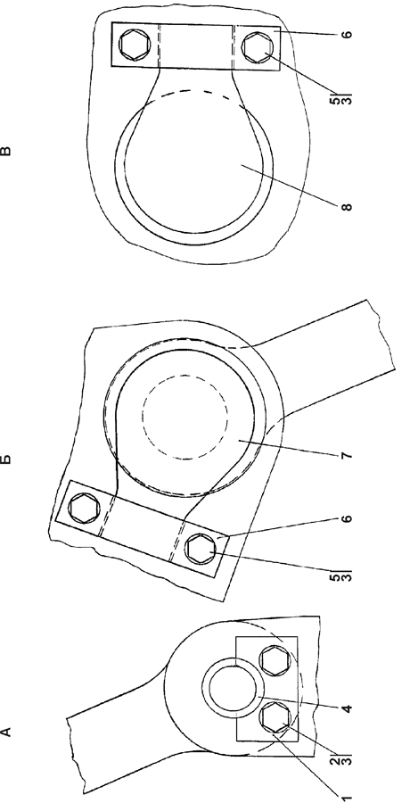
| 1 | Планка | 312001-51-18 | ||||
| 1 | Планка | 312001-51-18-20 | ||||
| 2 | Болт М12-6g?20 ГОСТ 7796-70 | - | ||||
| 3 | Шайба 12 ОТ ГОСТ 6402-70 | - | ||||
| 4 | Палец | 312001-51-17-01 | ||||
| 4 | Палец | 312001-51-17-01-20 | ||||
| 5 | Болт М12-6g?25 ГОСТ 7796-70 | - | ||||
| 6 | Планка | 011101-97-2 | ||||
| 6 | Планка | 011101-97-2-20 | ||||
| 7 | Палец | 1101-51-10СП(SP) | ||||
| 8 | Палец | 1101-51-10-01СП(SP) | ||||
Обращаем Ваше внимание, что пункты отмеченные звездочкой, обязательны для заполнения.