| ||||||
| № п/п | Наименование | Код детали | ||||
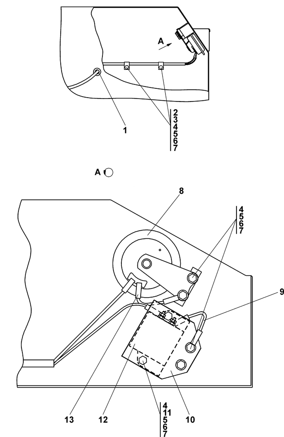
| 0 | Установка звуковых сигналов в контейнере АКБ | 0902-10-15СП(SP) | ||||
| 0 | Установка звуковых сигналов в контейнере АКБ | 0902-10-15-20СП(SP) | ||||
| 1 | Кольцо | 700-40-6736 | ||||
| 2 | Хомутик | 41 5045 | ||||
| 3 | Прокладка | 700-40-6684-07 | ||||
| 4 | Болт М8-6g?16 ГОСТ 7796-70 | - | ||||
| 5 | Шайба 8Т ГОСТ 6402-70 | - | ||||
| 6 | Шайба 8 ГОСТ 11371-78 (допускается замена на поз. 7) | 31 0150 | ||||
| 6 | Шайба 8 ГОСТ 11371-78 | 31 0150-20 | ||||
| 7 | Шайба 8 ГОСТ 11371-78 (взамен поз. 6) | - | ||||
| 8 | Сигнал С313 | 45 7374 2173 | ||||
| 8 | Сигнал С313-Э | 45 7374 2174 | ||||
| 8 | Сигнал С313-Т | 45 7374 2175 | ||||
| 9 | Провод | 2502-10-151-12СП(SP) | ||||
| 9 | Провод | 2502-10-151-12-20СП | ||||
| 10 | Пластина | 1106-10-14 | ||||
| 10 | Пластина | 1106-10-14-20 | ||||
| 11 | Гайка М8 ГОСТ 5915-70 | - | ||||
| 12 | Сигнал звуковой ELT 24B* | - | ||||
| 13 | Провод | 2501-10-129-22СП(SP) | ||||
| 13 | Провод | 2501-10-129-22-20СП | ||||
Обращаем Ваше внимание, что пункты отмеченные звездочкой, обязательны для заполнения.