| ||||||
| № п/п | Наименование | Код детали | ||||
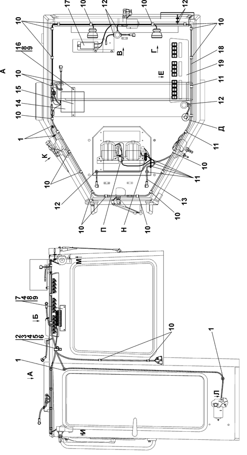
| 0 | Электрооборудование крыши кабины | 1102-10-13СП(SP) | ||||
| 0 | Электрооборудование крыши кабины | 1102-10-13-10СП(SP) | ||||
| 0 | Электрооборудование крыши кабины | 1102-10-13-20СП(SP) | ||||
| 1 | Кольцо | 700-40-6736 | ||||
| 2 | Прокладка | 700-40-6684-02 | ||||
| 3 | Хомутик | 700-41-3187 | ||||
| 4 | Болт М6-6g?16 ГОСТ 7796-70 | - | ||||
| 5 | Шайба 8Т ГОСТ 6402-70 | - | ||||
| 6 | Шайба 8 ГОСТ 11371-78 | 31 0150 | ||||
| 6 | Шайба 8 ГОСТ 11371-78 | 31 0150-20 | ||||
| 7 | Кронштейн | 1102-10-22 | ||||
| 7 | Кронштейн | 1102-10-22-20 | ||||
| 8 | Шайба 6Т ГОСТ 6402-70 | - | ||||
| 9 | Шайба 6 ГОСТ 11371-78 | 31 0110 | ||||
| 9 | Шайба 6 ГОСТ 11371-78 | 31 0110-20 | ||||
| 10 | Прокладка | 700-40-6684-05 | ||||
| 11 | Прокладка | 700-40-6684-04 | ||||
| 12 | Кольцо | 700-40-6695 | ||||
| 13 | Жгут | 1102-10-174СП(SP) | ||||
| 13 | Жгут | 1102-10-174-20СП(SP) | ||||
| 14 | Жгут | 1102-10-135СП(SP) | ||||
| 14 | Жгут | 1102-10-135-20СП(SP) | ||||
| 15 | Скоба | 1102-10-183СП(SP) | ||||
| 15 | Скоба | 1102-10-183-20СП(SP) | ||||
| 16 | Винт В.М6-6g?22 ГОСТ 7796-70 | - | ||||
| 17 | Светильник автотранспортный СИЕУ.453754.009-01 ТУ4573-029-25616989-2004 | - | ||||
| 18 | Жгут | 1102-10-166СП(SP) | ||||
| 18 | Жгут | 1102-10-166-20СП(SP) | ||||
| 19 | Щиток выключателей | 1102-10-165СП(SP) | ||||
Обращаем Ваше внимание, что пункты отмеченные звездочкой, обязательны для заполнения.