| ||||||
| № п/п | Наименование | Код детали | ||||
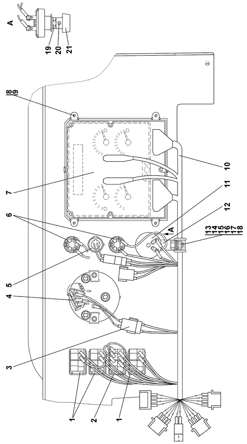
| 0 | Щиток приборов | 1102-10-163СП(SP) | ||||
| 0 | Щиток приборов | 1102-10-163-10СП(SP) | ||||
| 0 | Щиток приборов | 1102-10-163-20СП(SP) | ||||
| 1 | Переключатель П147-02.17 ТУ 37.003.701-75 | - | ||||
| 2 | Переключатель П147-04.11 ТУ 37.003.701-75 | - | ||||
| 3 | Жгут | 1106-10-150-03СП(SP) | ||||
| 3 | Жгут | 1106-10-150-03-20СП | ||||
| 4 | Тахометр электронный АНЖС.453813.007Я1 ТУ 4573-007-75698024-2007 | - | ||||
| 5 | Прикуриватель 11.3725 ТУ 37.003.1172-83 | - | ||||
| 6 | Выключатель кнопочный 11.3704.000-01 ТУ 37.003.710-80 | 45 7373 4401 05 | ||||
| 7 | Комбинация приборов промышленного трактора 61.3801-01 ТУ 4573-112-24322961-2006 | - | ||||
| 8 | Шайба 4 ГОСТ 11371-78 | 310050 | ||||
| 8 | Шайба 4 ГОСТ 11371-78 | 310050-20 | ||||
| 9 | Винт 4?16 ОСТ37.001.187-81 | 459632 1017 | ||||
| 10 | Жгут | 1102-10-164-01СП | ||||
| 10 | Жгут | 1102-10-164-01-20СП | ||||
| 11 | Выключатель света щитка приборов с реостатом ВК416-01 ТУ 37.003.567-77 | - | ||||
| 12 | Уголок | 1102-10-24 | ||||
| 12 | Уголок | 1102-10-24-20 | ||||
| 13 | Прокладка | 700-40-6684-03 | ||||
| 14 | Хомутик | 700-41-3307 | ||||
| 15 | Болт М8-6g?16 ГОСТ 7796-70 | - | ||||
| 16 | Гайка М8 ГОСТ 5915-70 | - | ||||
| 17 | Шайба 8 ГОСТ 6402-70 | - | ||||
| 18 | Шайба 8 ГОСТ 11371-78 | 310150 | ||||
| 18 | Шайба 8 ГОСТ 11371-78 | 310150-20 | ||||
| 19 | Гайка | 305185 | ||||
| 19 | Гайка | 305185-20 | ||||
| 20 | Винт | 355300 | ||||
| 20 | Винт | 355300-20 | ||||
| 21 | Ручка | 46-10-576СП(SP) | ||||
Обращаем Ваше внимание, что пункты отмеченные звездочкой, обязательны для заполнения.