| ||||||
| № п/п | Наименование | Код детали | ||||
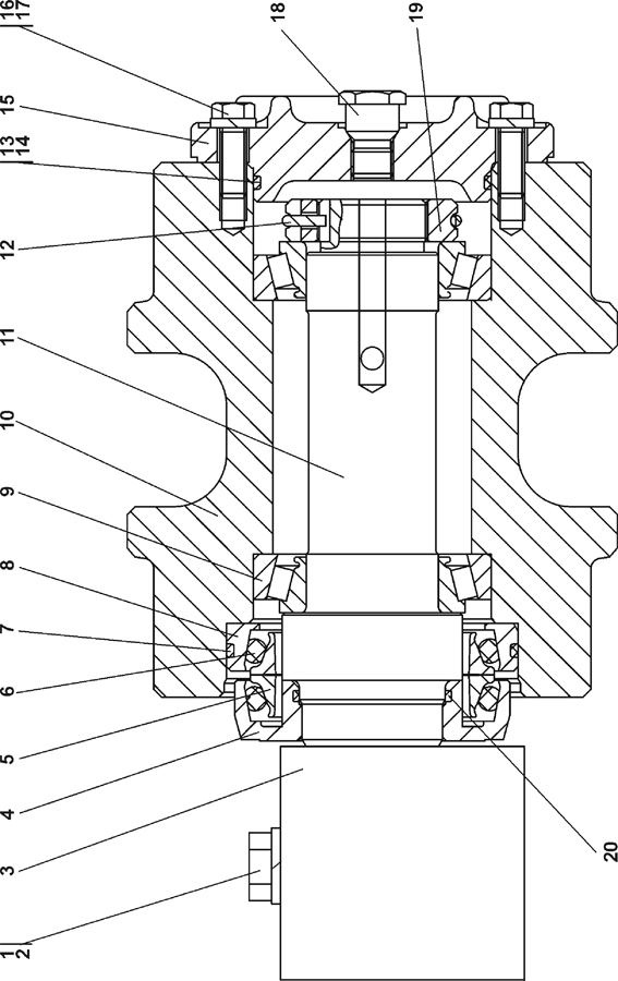
| 0 | Каток поддерживающий | 1101-21-10СП(SP) | ||||
| 0 | Каток поддерживающий | 1101-21-10-20СП(SP) | ||||
| 1 | Болт М20-6g?85 ГОСТ 7796-70 | 28 0742 | ||||
| 1 | Болт М20-6g?85 ГОСТ 7796-70 | 28 0742-20 | ||||
| 2 | Шайба 20 ОТ ГОСТ 6402-70 | - | ||||
| 3 | Опора | 1101-21-122 | ||||
| 3 | Каток поддерживающий (поз.4-20) | 1101-21-115СП(SP) | ||||
| 3 | Каток поддерживающий (поз.4-20) | 1101-21-115-20СП(SP) | ||||
| 4 | Крышка | 1501-21-107 | ||||
| 5 | Кольцо уплотнительное | 1501-21-142 | ||||
| 6 | Кольцо упругое | 40 0452 | ||||
| 7 | Кольцо 104-110-36-2-51-1668 ТУ 2531-260-00149245-00 | - | ||||
| 8 | Корпус уплотнения | 1501-21-120 | ||||
| 9 | Подшипник 7210 ТУ 37.006.162-89 | - | ||||
| 10 | Каток | 1101-21-215СП(SP) | ||||
| 10 | Каток | 1101-21-215-20СП(SP) | ||||
| 11 | Ось | 1101-21-219 | ||||
| 12 | Кольцо стопорное | 1501-21-125 | ||||
| 13 | Кольцо 080-090-36-2-51-1668 (допускается замена на поз.14) | - | ||||
| 14 | Кольцо 084-090-36-2-3 ГОСТ 18829-73/ТУ 38.005204-84 (допускается замена на поз.13) | - | ||||
| 15 | Крышка | 1101-21-123 | ||||
| 16 | Болт М10-6g?30 ГОСТ 7796-70 | - | ||||
| 17 | Шайба 10 ОТ ГОСТ 6402-70 | - | ||||
| 18 | Пробка | 37 5509 | ||||
| 18 | Пробка | 37 5509-20 | ||||
| 19 | Гайка специальная | 1501-21-124 | ||||
| 20 | Кольцо 055-060-30-2-51-1668 ТУ 2531-260-00149245-00 | - | ||||
Обращаем Ваше внимание, что пункты отмеченные звездочкой, обязательны для заполнения.