| ||||||
| № п/п | Наименование | Код детали | ||||
| 0 | Механизм сдавания | 1101-21-16СП(SP) | ||||
| 0 | Механизм сдавания | 1101-21-16-20СП(SP) | ||||
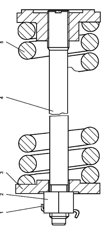
| 1 | Стопор | 2001-21-131 | ||||
| 1 | Стопор | 2001-21-131-20 | ||||
| 2 | Гайка | 2001-21-130 | ||||
| 2 | Гайка | 2001-21-130-20 | ||||
| 3 | Фланец | 1501-21-128 | ||||
| 3 | Фланец | 1501-21-128-20 | ||||
| 4 | Фланец | 1101-21-36СП(SP) | ||||
| 4 | Фланец | 1101-21-36-20СП(SP) | ||||
| 5 | Пружина | 1501-21-132 | ||||
| 5 | Пружина | 1501-21-132-20 | ||||
Обращаем Ваше внимание, что пункты отмеченные звездочкой, обязательны для заполнения.