| ||||||
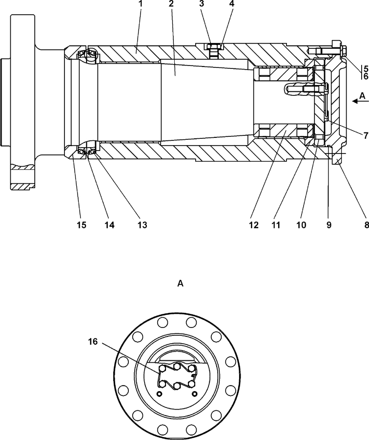
| № п/п | Наименование | Код детали | ||||
| 0 | Шарнир | 1101-21-38СП(SP) | ||||
| 0 | Шарнир | 1101-21-38-20СП(SP) | ||||
| 1 | Корпус | 1101-21-119СП(SP) | ||||
| 2 | Ось | 1101-21-200 | ||||
| 3 | Пробка | 37 5515 | ||||
| 3 | Пробка | 37 5515-20 | ||||
| 4 | Прокладка | 700-40-260-11 | ||||
| 5 | Болт М12?1,25-6g?40 ГОСТ 7796-70 | - | ||||
| 6 | Шайба 12 ОТ ГОСТ 6402-70 | - | ||||
| 7 | Болт 3М12-6g?40 ГОСТ 7796-70 | 28 0351 | ||||
| 8 | Крышка | 1501-21-152 | ||||
| 9 | Кольцо 160-165-36-2-51-1668 ТУ 2531-260-00149245-00 | - | ||||
| 10 | Фланец | 1501-21-157 | ||||
| 11 | Кольцо | 1501-21-156 | ||||
| 12 | Вкладыш | 1101-21-205 | ||||
| 13 | Кольцо упругое | 40 0323 | ||||
| 14 | Кольцо уплотнительное | 1501-21-158 | ||||
| 15 | Корпус уплотнения | 1501-21-153 | ||||
| 16 | Проволока КС-1,6 ГОСТ 792-67 | - | ||||
Обращаем Ваше внимание, что пункты отмеченные звездочкой, обязательны для заполнения.