| ||||||
| № п/п | Наименование | Код детали | ||||
| 0 | Каток опорный* | 1101-21-40СП(SP) | ||||
| 0 | Каток опорный | 1101-21-40-20СП(SP) | ||||
| 0 | Каток опорный** | 1101-21-40-01СП(SP) | ||||
| 0 | Каток опорный | 1101-21-40-01-20СП | ||||
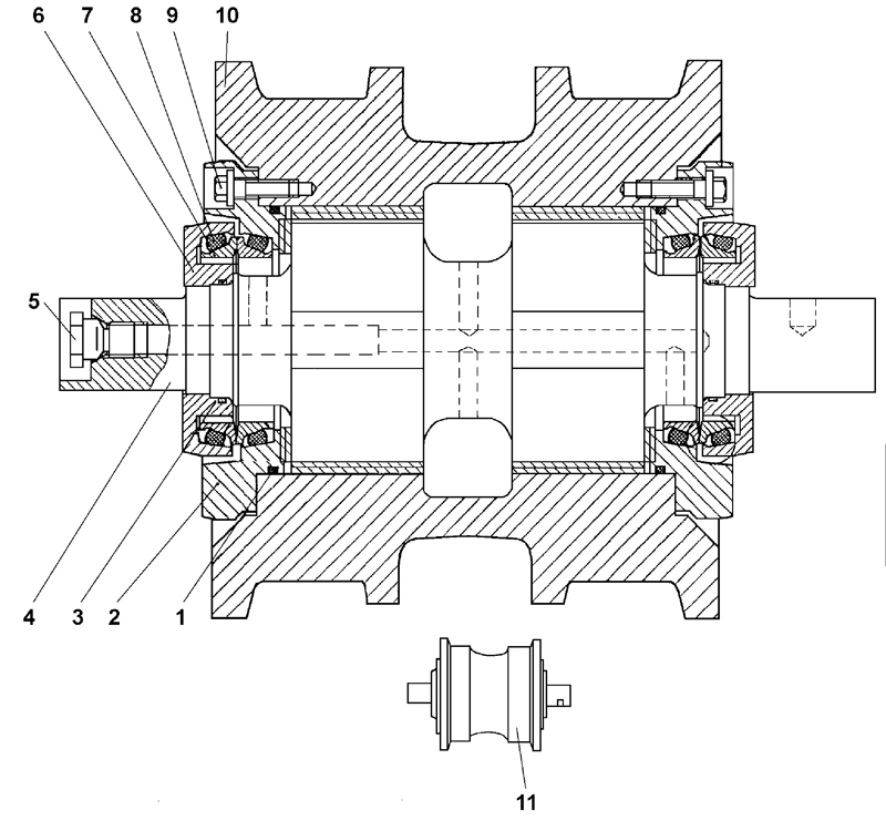
| 1 | Кольцо 114-120-36-2-51-1668 ТУ 2531-260-00149245-00 | - | ||||
| 2 | Фланец | 1101-21-75СП(SP) | ||||
| 3 | Кольцо 050-055-30-2-51-1668 ТУ 2531-260-00149245-00 | - | ||||
| 4 | Ось | 1101-21-141-01 | ||||
| 5 | Пробка | 37 5509 | ||||
| 5 | Пробка | 37 5509-20 | ||||
| 6 | Крышка | 1101-21-107 | ||||
| 7 | Кольцо уплотнительное | 1501-21-142 | ||||
| 8 | Кольцо упругое | 40 0452 | ||||
| 9 | Болт | 2501-21-411 | ||||
| 9 | Болт | 2501-21-411-20 | ||||
| 10 | Каток* | 1101-21-55СП(SP) | ||||
| 10 | Каток | 1101-21-55-20СП(SP) | ||||
| 11 | Каток** | 1101-21-55-01СП(SP) | ||||
| 11 | Каток | 1101-21-55-01-20СП | ||||
Обращаем Ваше внимание, что пункты отмеченные звездочкой, обязательны для заполнения.