| ||||||
| № п/п | Наименование | Код детали | ||||
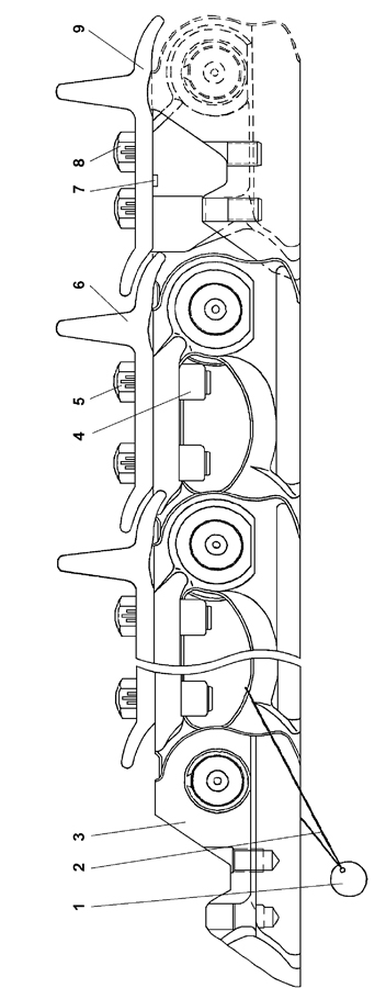
| 0 | Гусеница | Т203-22-000 | ||||
| 1 | Бирка | 23.903.7900-4229-04 | ||||
| 2 | Проволока 1-С-1 ГОСТ 3282-74 | - | ||||
| 3 | Цепь | Т203-22-100 | ||||
| 4 | Гайка | C203-22-004 | ||||
| 4 | или | - | ||||
| 4 | Гайка | C203-22-004И | ||||
| 5 | Болт | 700-28-2352-02 | ||||
| 6 | Башмак | ТЖ203-22-001 | ||||
| 7 | Шпонка | 700-34-2062 | ||||
| 8 | Болт замыкающий | ТЖ203-22-003 | ||||
| 9 | Башмак замыкающий | ТЖ203-22-002 | ||||
| - | Комплект монтажных частей (состоит из узлов и деталей поз.7,8,9.) | Т203-22-000КМ | ||||
Обращаем Ваше внимание, что пункты отмеченные звездочкой, обязательны для заполнения.