| ||||||
| № п/п | Наименование | Код детали | ||||
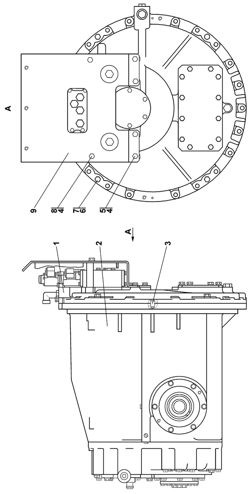
| 0 | Блок трансмиссии | 0901-12-14СП(SP) | ||||
| 0 | Блок трансмиссии | 0901-12-14-20СП(SP) | ||||
| 1 | Коробка передач с системой гидроуправления | 0901-12-11СП(SP) | ||||
| 1 | Коробка передач с системой гидроуправления | 0901-12-11-20СП(SP) | ||||
| 2 | Передача главная | 0901-12-12СП(SP) | ||||
| 3 | Штифт | 32 5382 | ||||
| 4 | Болт М12-6g?30 ГОСТ 7796-70 | - | ||||
| 5 | Шайба | 31 0225 | ||||
| 6 | Болт М14?1,5-6g?45 ГОСТ 7796-70 | 28 0507-01 | ||||
| 6 | Болт М14?1,5-6g?45 ГОСТ 7796-70 | 28 0507-01-20 | ||||
| 7 | Шайба 14 ОТ ГОСТ 6402-70 | - | ||||
| 8 | Болт М12-6g?120 ГОСТ 7796-70 | 28 0393 | ||||
| 8 | Болт М12-6g?120 ГОСТ 7796-70 | 28 0393-20 | ||||
| 9 | Защита | 0901-12-108СП(SP) | ||||
| 9 | Защита | 0901-12-108-20СП(SP) | ||||
Обращаем Ваше внимание, что пункты отмеченные звездочкой, обязательны для заполнения.