| ||||||
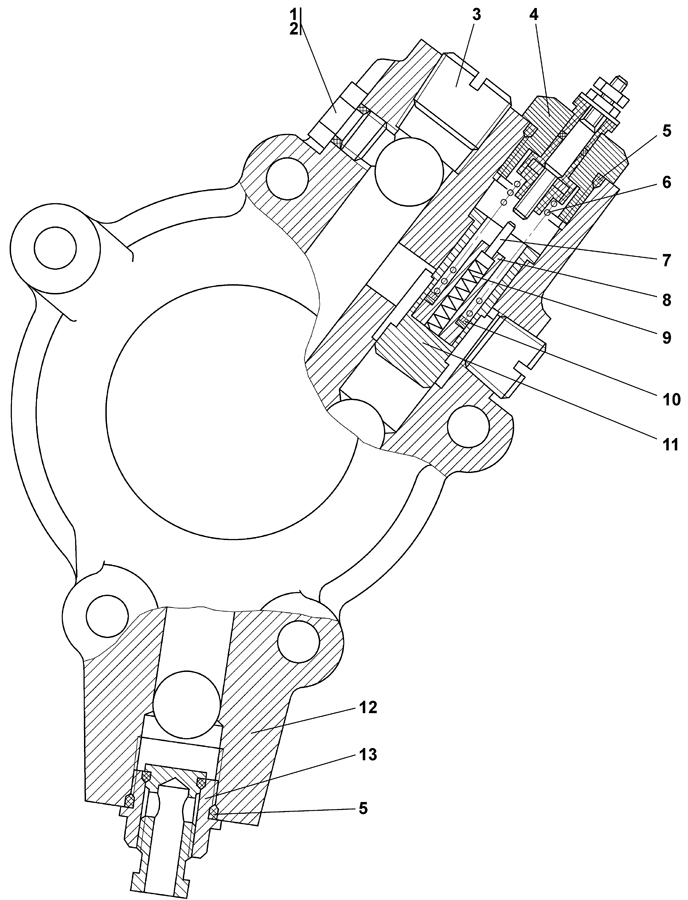
| № п/п | Наименование | Код детали | ||||
| 0 | Крышка | 1101-15-9СП(SP) | ||||
| 0 | Крышка | 1101-15-9-20СП(SP) | ||||
| 1 | Пробка | 37 5516 | ||||
| 1 | Пробка | 37 5516-20 | ||||
| 2 | Кольцо 012-016-25-2-51-1668 ТУ 2531-260-00149245-00 | - | ||||
| 3 | Пробка 3-КГ 3/4? ТУ 23.1.506-91 | 700-37-2054 | ||||
| 3 | Пробка 3-КГ 3/4? ТУ 23.1.506-91 | 700-37-2054-20 | ||||
| 4 | Пробка | 3500-15-16СП(SP) | ||||
| 4 | Пробка | 3500-15-16-20СП(SP) | ||||
| 5 | Кольцо 024-028-25-2-51-1668 ТУ 2531-260-00149245-00 | - | ||||
| 6 | Пружина | 38 5278 | ||||
| 7 | Упор | 3500-15-9 | ||||
| 8 | Втулка | 3500-15-8 | ||||
| 9 | Пружина | 700-38-2641 | ||||
| 10 | Шайба | 3500-15-16 | ||||
| 11 | Клапан | 3500-15-6 | ||||
| 12 | Крышка | 1101-15-36 | ||||
| 12 | Крышка | 1101-15-36-20 | ||||
| 13 | Пробка сливная | А64.23.000СП(SP) | ||||
Обращаем Ваше внимание, что пункты отмеченные звездочкой, обязательны для заполнения.