| ||||||
| № п/п | Наименование | Код детали | ||||
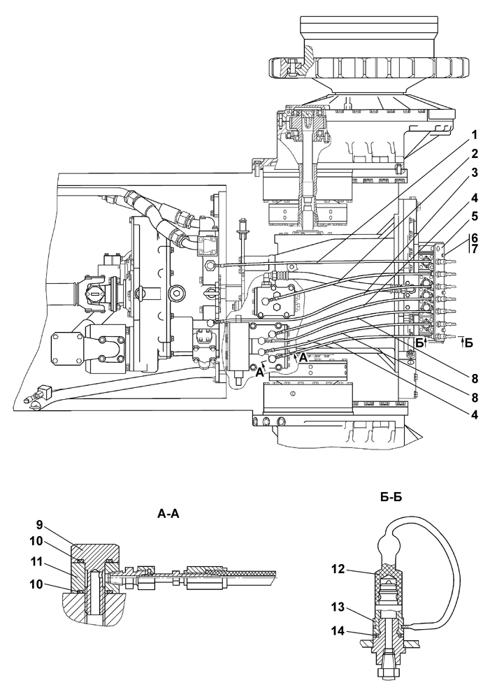
| 0 | Система диагностики | 1101-15-22СП(SP) | ||||
| 0 | Система диагностики | 1101-15-22-20СП(SP) | ||||
| 1 | Рукав для замера давления | 1101-15-24-03СП(SP) | ||||
| 2 | Рукав для замера давления | 1101-15-24СП(SP) | ||||
| 3 | Рукав для замера давления | 1101-15-24-04СП(SP) | ||||
| 4 | Рукав для замера давления | 1101-15-24-01СП(SP) | ||||
| 5 | Площадка | 1101-15-23СП(SP) | ||||
| 5 | Площадка | 1101-15-23-20СП(SP) | ||||
| 6 | Болт М8-6g?20 ГОСТ 7796-70 | - | ||||
| 7 | Шайба 8Т ГОСТ 6402-70 | - | ||||
| 8 | Рукав для замера давления | 1101-15-24-02СП(SP) | ||||
| 9 | Болт зажимной | 2501-20-8 | ||||
| 9 | Болт зажимной | 2501-20-8-20 | ||||
| 10 | Кольцо 018-022-25-2-51-1668 ТУ 2531-260-00149245-00 | - | ||||
| 11 | Угольник | 1101-15-40 | ||||
| 11 | Угольник | 1101-15-40-20 | ||||
| 12 | Вилка резиновая МБШ 14/35-12 МБШ 14/35-00ГЧ | 631315000042 | ||||
| 13 | Вилка МБШ 14/35-02 МБШ 14/35-00 ГЧ | 631315000043 | ||||
| 14 | Кольцо уплотнительное торцевое комбинированное USIT 1/4? МБШ 14/35-00ГЧ | 479144000001 | ||||
Обращаем Ваше внимание, что пункты отмеченные звездочкой, обязательны для заполнения.