| ||||||
| № п/п | Наименование | Код детали | ||||
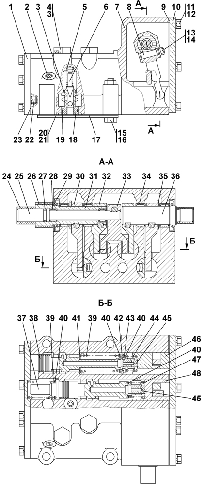
| 0 | Блок управления | 1501-15-41СП(SP) | ||||
| 0 | Блок управления | 1501-15-41-20СП(SP) | ||||
| 1 | Крышка | 1501-15-60 | ||||
| 2 | Пробка 3 КГ 1/4? ТУ 23.1.506-91 | 37 0260-01 | ||||
| 3 | Кольцо 018-022-25-2-51-1668 ТУ 2531-260-00149245-00 | - | ||||
| 4 | Пробка | 37 5331 | ||||
| 4 | Пробка | 37 5331-20 | ||||
| 5 | Пружина | 385050-05-01 | ||||
| 6 | Клапан | 1501-15-46 | ||||
| 7 | Корпус | 1501-15-49 | ||||
| 7 | Корпус | 1501-15-49-20 | ||||
| 8 | Клин | 312501-91-157 | ||||
| 9 | Прокладка | 45 0298 | ||||
| 9 | Прокладка | 45 0298-20 | ||||
| 10 | Крышка | 1501-15-61 | ||||
| 11 | Болт М8-6g?25 ГОСТ 7796-70 | - | ||||
| 12 | Шайба 8Т ГОСТ 6402-70 | - | ||||
| 13 | Гайка М8 ГОСТ 5915-70 | - | ||||
| 14 | Прокладка | 2501-15-226 | ||||
| 15 | Болт М12-6g?75 ГОСТ 7796-70 | 28 0366 | ||||
| 15 | Болт М12-6g?75 ГОСТ 7796-70 | 28 0366-20 | ||||
| 16 | Гайка М12-6Н ГОСТ 5915-70 | - | ||||
| 17 | Прокладка | 45 0329 | ||||
| 18 | Корпус | 1501-15-72 | ||||
| 19 | Кольцо 024-028-25-2-51-1668 ТУ 2531-260-00149245-00 | - | ||||
| 20 | Заглушка (допускается замена на поз. 21) | 2501-15-151 | ||||
| 21 | Крышка (допускается замена на поз. 20) | 1501-15-71 | ||||
| 22 | Пробка | 700-37-2182-01 | ||||
| 22 | Пробка | 700-37-2182-01-20 | ||||
| 23 | Прокладка | 45 0299 | ||||
| 23 | Прокладка | 45 0299-20 | ||||
| 24 | Труба | 2501-15-152-01 | ||||
| 25 | Валик | 1501-15-55 | ||||
| 26 | Труба | 2501-15-152 | ||||
| 27 | Кольцо 016-020-25-2-51-1668 ТУ 2531-260-00149245-00 | - | ||||
| 28 | Подшипник 941/15 ГОСТ 4060-78 | - | ||||
| 29 | Манжета 2.2-30?52-3 ГОСТ 8752-79 | - | ||||
| 30 | Рычаг | 1501-15-59 | ||||
| 31 | Валик | 1501-15-57 | ||||
| 32 | Рычаг | 1501-15-37 | ||||
| 33 | Рычаг | 1501-15-36 | ||||
| 34 | Подшипник 941/30 ГОСТ 4060-78 | - | ||||
| 35 | Шайба 30 ГОСТ 11371-78 | 310410-01 | ||||
| 36 | Валик | 1501-15-56 | ||||
| 37 | Золотник | 1501-15-51 | ||||
| 38 | Золотник | 1501-15-50 | ||||
| 39 | Пружина | 38 5581-01 | ||||
| 40 | Кольцо | 47-59-205 | ||||
| 41 | Кольцо | 1501-15-64 | ||||
| 42 | Упор | 1501-15-68 | ||||
| 43 | Кольцо | 1501-15-69 | ||||
| 44 | Пружина | 38 5391-01 | ||||
| 45 | Плунжер | 1501-15-52 | ||||
| 46 | Толкатель | 1501-15-53 | ||||
| 47 | Пружина | 38 5579-01 | ||||
| 48 | Толкатель | 1501-15-54 | ||||
Обращаем Ваше внимание, что пункты отмеченные звездочкой, обязательны для заполнения.