| ||||||
| № п/п | Наименование | Код детали | ||||
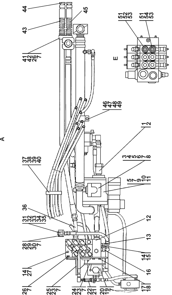
| 1 | Муфта | 2501-15-103 | ||||
| 2 | Кольцо С34 ГОСТ 13940-86 | 58 0307 | ||||
| 3 | Фланец | 0901-26-31 | ||||
| 3 | Фланец | 0901-26-31-20 | ||||
| 4 | Шайба защитная | 44 0049 | ||||
| 5 | Болт М12-6g?40 ГОСТ 7796-70 | - | ||||
| 6 | Болт М12-6g?100 ГОСТ 7796-70 | 28 1389 | ||||
| 6 | Болт М12-6g?100 ГОСТ 7796-70 | 28 1389-20 | ||||
| 7 | Шайба 12 ОТ ГОСТ 6402-70 | - | ||||
| 8 | Кольцо 038-046-46-2-51-1668 ТУ 2531-260-00149245-00 | - | ||||
| 9 | Шайба 12?2 ГОСТ 11371-78 | 31 0210 | ||||
| 9 | Шайба 12?2 ГОСТ 11371-78 | 31 0210-20 | ||||
| 10 | Кольцо 100-110-58-2-ИРП1314-1 ГОСТ 18829-73/ТУ 38.005204-4 | - | ||||
| 11 | Насос НШ 100А-3 ГСТУ3-25-180-97 | - | ||||
| 11 | Насос НШ 100А-3Т ГСТУ 3-25-180-97 | - | ||||
| 12 | Гидрораспределитель М4-4130-20/3М4-15РНТV01 | - | ||||
| 13 | Угольник | 0602-28-25-01СПК(SPК) | ||||
| 13 | Угольник | 0602-28-25-01-20СПК | ||||
| 14 | Шайба специальная | 0602-28-136К | ||||
| 15 | Штуцер ввертной | 0602-28-137К | ||||
| 15 | Штуцер ввертной | 0602-28-137-20К | ||||
| 16 | Угольник | 0602-28-25СПК(SPК) | ||||
| 16 | Угольник | 0602-28-25-20СПК | ||||
| 17 | Болт М10-6g?25 ГОСТ 7796-70 | 28 0230 | ||||
| 17 | Болт М10-6g?25 ГОСТ 7796-70 | 28 0230-20 | ||||
| 18 | Шайба 10 ОТ ГОСТ 6402-70 | - | ||||
| 19 | Болт М12-6g?25 ГОСТ 7796-70 | - | ||||
| 20 | Клапан | 0901-26-25СП(SP) | ||||
| 20 | Клапан | 0901-26-25-20СП(SP) | ||||
| 21 | Кольцо 008-010-14-2-51-1668 ТУ 2531-260-00149245-00 | - | ||||
| 22 | Фильтр | 1101-26-82СП(SP) | ||||
| 22 | Фильтр | 1101-26-82-20СП(SP) | ||||
| 23 | Болт М12?1,25-6g?25 ГОСТ 7796-70 | - | ||||
| 24 | Планка | 0901-26-23 | ||||
| 24 | Планка | 0901-26-23-20 | ||||
| 25 | Кронштейн | 0901-26-19-01СП(SP) | ||||
| 25 | Кронштейн | 0901-26-19-01-20СП | ||||
| 26 | Болт М12?1,25-6g?40 ГОСТ 7796-70 | - | ||||
| 27 | Заглушка | 1101-26-206 | ||||
| 27 | Заглушка | 1101-26-206-20 | ||||
| 28 | Планка | 1101-26-191 | ||||
| 28 | Планка | 1101-26-191-20 | ||||
| 29 | Бонка | 51 5210 | ||||
| 30 | Болт М12?1,25-6g?20 ГОСТ 7796-70 | 28 0320 | ||||
| 30 | Болт М12?1,25-6g?20 ГОСТ 7796-70 | 28 0320-20 | ||||
| 31 | Переходник | 1101-26-187 | ||||
| 31 | Переходник | 1101-26-187-20 | ||||
| 32 | Пробка | 37 5245 | ||||
| 32 | Пробка | 37 5243-20 | ||||
| 33 | Шайба 20 ОТ ГОСТ 6402-70 | - | ||||
| 34 | Кольцо 007-011-25-2-51-1668 ТУ 2531-260-00149245-00 | - | ||||
| 35 | Контргайка | Н.036.23.022 | ||||
| 35 | Контргайка | Н.036.23.022-01 | ||||
| 36 | Трубопровод | 1101-26-55СП(SP) | ||||
| 36 | Трубопровод | 1101-26-55-20СП(SP) | ||||
| 37 | Бугель | 0602-28-138К | ||||
| 37 | Бугель | 0602-28-138-20К | ||||
| 38 | Бугель | 0602-28-141К | ||||
| 38 | Бугель | 0602-28-141-20К | ||||
| 39 | Болт М8-6g?30 ГОСТ 7796-70 | - | ||||
| 40 | Гайка М8 ГОСТ 5915-70 | - | ||||
| 41 | Бугель | 2601-28-59 | ||||
| 41 | Бугель | 2601-28-59-20 | ||||
| 42 | Бугель | 2601-28-60 | ||||
| 42 | Бугель | 2601-28-60-20 | ||||
| 43 | Рукав d20 | 011101-97-509-06СП | ||||
| 43 | Рукав d20 | 011101-97-509-06-20СП | ||||
| 44 | Заглушка** | 0901-26-25 | ||||
| 44 | Заглушка | 0901-26-25-20 | ||||
| 45 | Рукав d20 | 011101-97-509-07СП | ||||
| 45 | Рукав d20 | 011101-97-509-07-20СП | ||||
| 46 | Скоба | 5001-26-96 | ||||
| 46 | Скоба | 5001-26-96-20 | ||||
| 47 | Планка | 5001-26-97 | ||||
| 47 | Планка | 5001-26-97-20 | ||||
| 48 | Прокладка | 700-40-6927 | ||||
| 49 | Болт М16?1,5-6g?25 ГОСТ 7796-70 | 28 0515 | ||||
| 79 | Болт М16?1,5-6g?25 ГОСТ 7796-70 | 28 0515-20 | ||||
| 50 | Шайба 16 ОТ ГОСТ 6402-70 | - | ||||
| 51 | Шайба специальная | 1101-26-222 | ||||
| 51 | Шайба специальная | 1101-26-222-20 | ||||
| 52 | Штуцер ввертной | 0901-26-13 | ||||
| 52 | Штуцер ввертной | 0901-26-13-20 | ||||
| 53 | Кольцо 024-028-25-2-51-1668 ТУ 2531-260-00149245-00 | - | ||||
| 54 | Штуцер ввертной | 0901-26-11-01 | ||||
| 54 | Штуцер ввертной | 0901-26-11-01-20 | ||||
Обращаем Ваше внимание, что пункты отмеченные звездочкой, обязательны для заполнения.