| ||||||
| № п/п | Наименование | Код детали | ||||
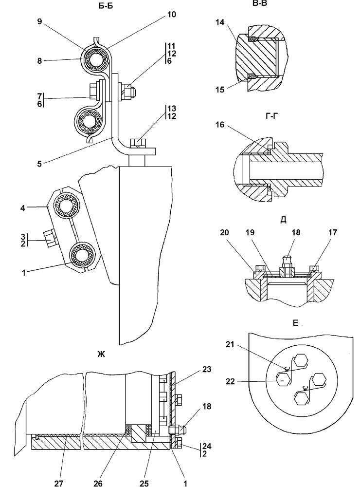
| 1 | Прокладка | 45 0312 | ||||
| 2 | Прокладка | 45 0312-20 | ||||
| 2 | Шайба 8Т ГОСТ 6402-70 | - | ||||
| 3 | Болт М8-6g?30 ГОСТ 7796-70 | - | ||||
| 4 | Бугель | 312501-26-141 | ||||
| 4 | Бугель | 312501-26-141-20 | ||||
| 5 | Планка | 312501-94-155 | ||||
| 5 | Планка | 312501-94-155-20 | ||||
| 6 | Шайба 12?2 ГОСТ 11371-78 | 31 0210 | ||||
| 7 | Шайба 12?2 ГОСТ 11371-78 | 31 0210-20 | ||||
| 7 | Болт М12-6g?35 ГОСТ 7796-70 | - | ||||
| 8 | Скоба | 2501-26-300 | ||||
| 8 | Скоба | 2501-26-300-20 | ||||
| 9 | Прокладка | 2001-26-192 | ||||
| 9 | Прокладка | 2001-26-192-20 | ||||
| 10 | Планка | 2501-26-301 | ||||
| 10 | Планка | 2501-26-301-20 | ||||
| 11 | Гайка М12 ГОСТ 5915-70 | - | ||||
| 12 | Шайба 12 ОТ ГОСТ 6402-70 | - | ||||
| 13 | Болт М12?1,25-6g?25 ГОСТ 7796-70 | - | ||||
| 14 | Пробка | 37 5714-03 | ||||
| 14 | Пробка | 37 5714-03-20 | ||||
| 15 | Кольцо 021-027-36-2-51-1668 ТУ 2531-260-00149245-00 | - | ||||
| 16 | Шайба специальная | 1101-26-222 | ||||
| 16 | Шайба специальная | 1101-26-222-20 | ||||
| 17 | Кольцо С60 ГОСТ 13941-86 | 700-58-2088 | ||||
| 18 | Масленка 1,2Ц6хр ГОСТ 19853-74 | - | ||||
| 18 | Масленка 1.2Кд6хр ГОСТ 19853-74 | - | ||||
| 19 | Заглушка | 1101-26-47СП(SP) | ||||
| 19 | Заглушка | 1101-26-47-20СП(SP) | ||||
| 20 | Крышка | 1101-26-166 | ||||
| 21 | Проволока 0,6-0-4 ГОСТ 3282-74 | - | ||||
| 22 | Болт 3М12-6g?30 ГОСТ 7798-70 | 28 0339 | ||||
| 22 | Болт 3М12-6g?30 ГОСТ 7798-70 | 28 0339-20 | ||||
| 23 | Крышка | 1101-26-174 | ||||
| 23 | Крышка | 1101-26-174-20 | ||||
| 24 | Болт М8-6g?25 ГОСТ 7796-70 | - | ||||
| 25 | Диск | 1101-26-168 | ||||
| 26 | Шайба специальная | 1101-26-167 | ||||
| 27 | Кольцо штоковое | 2501-98-594 | ||||
Обращаем Ваше внимание, что пункты отмеченные звездочкой, обязательны для заполнения.