| ||||||
| № п/п | Наименование | Код детали | ||||
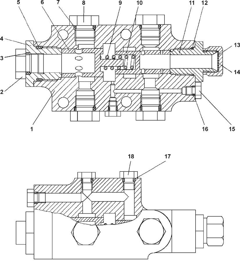
| 0 | Устройство перепускное | 0901-26-509-01СП(SP) | ||||
| 0 | Устройство перепускное | 0901-26-509-01-20СП | ||||
| 1 | Корпус | 0901-26-519 | ||||
| 2 | Пробка | 375780 | ||||
| 3 | Кольцо 022-028-36-2-51-1668 ТУ 2531-260-00149245-00 | - | ||||
| 4 | Штуцер ввертной | 1101-26-633 | ||||
| 4 | Штуцер ввертной | 1101-26-633-20 | ||||
| 5 | Кольцо 036-040-25-2-51-1668 ТУ 2531-260-00149245-00 | - | ||||
| 6 | Толкатель | 1101-26-621 | ||||
| 7 | Кольцо 021-027-36-2-51-1668 ТУ 2531-260-00149245-00 | - | ||||
| 8 | Пробка | 375714 | ||||
| 8 | Пробка | 375714-20 | ||||
| 9 | Пружина | 385250 | ||||
| 10 | Плунжер | 1101-26-625 | ||||
| 11 | Штуцер ввертной | 0901-26-524 | ||||
| 11 | Штуцер ввертной | 0901-26-524-20 | ||||
| 12 | Кольцо 032-038-36-2-51-1668 ТУ 2531-260-00149245-00 | - | ||||
| 13 | Прокладка | 700-40-6518 | ||||
| 13 | Прокладка | 700-40-6518-20 | ||||
| 14 | Колпачок | 46-21-884 | ||||
| 15 | Пробка | 375245 | ||||
| 15 | Пробка | 375245-20 | ||||
| 16 | Кольцо 007-011-025-2-51-1668 ТУ 2531-260-00149245-00 | - | ||||
| 17 | Кольцо 010-014-25-3 ГОСТ 18829-73 | - | ||||
| 18 | Пробка | 375435 | ||||
| 18 | Пробка | 375435-20 | ||||
Обращаем Ваше внимание, что пункты отмеченные звездочкой, обязательны для заполнения.