| ||||||
| № п/п | Наименование | Код детали | ||||
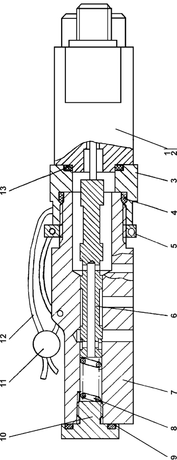
| 0 | Пилот управления | 3501-26-65СП(SP) | ||||
| 0 | Пилот управления | 3501-26-65-20СП(SP) | ||||
| 1 | Шайба 4 ГОСТ 6402-70 | - | ||||
| 2 | Привод КВМ36М-ААГ-Г24-01-УХЛ1 ТУ 4144-007-00221712-2002 | - | ||||
| 3 | Переходник | 1146-26-8 | ||||
| 3 | Переходник | 1146-26-8-20 | ||||
| 4 | Кольцо 027-032-30-2-51-1668 ТУ 2531-260-00149245-00 | - | ||||
| 5 | Контргайка | 41 5316 | ||||
| 5 | Контргайка | 41 5316-20 | ||||
| 6 | Золотник пилота | 3501-26-257 | ||||
| 7 | Корпус пилота | 3501-26-256 | ||||
| 7 | Корпус пилота | 3501-26-256-20 | ||||
| 8 | Пружина | 38 5092-01 | ||||
| 9 | Кольцо 018-022-25-2-51-1668 ТУ 2531-260-00149245-00 | - | ||||
| 10 | Пробка | 37 5321 | ||||
| 10 | Пробка | 37 5321-20 | ||||
| 11 | Пломба 10/6,5 ТУ32-ЦТВР-04-89 | - | ||||
| 12 | Проволока 0,8-0-С ГОСТ 3282-74 | - | ||||
| 13 | Кольцо 022-026-25-2-51-1668 ТУ 2531-260-00149245-00 | - | ||||
Обращаем Ваше внимание, что пункты отмеченные звездочкой, обязательны для заполнения.