| ||||||
| № п/п | Наименование | Код детали | ||||
| 0 | Кабина*1 | 0901-111-03СП(SP) | ||||
| 0 | Кабина | 0901-111-03-10СП(SP) | ||||
| 0 | Кабина | 0901-111-03-20СП(SP) | ||||
| 0 | Кабина*2 | 0901-111-04СП(SP) | ||||
| 0 | Кабина | 0901-111-04-10СП(SP) | ||||
| 0 | Кабина | 0901-111-04-20СП(SP) | ||||
| 0 | Кабина*3 | 0901-111-09СП(SP) | ||||
| 0 | Кабина | 0901-111-09-10СП(SP) | ||||
| 0 | Кабина | 0901-111-09-20СП(SP) | ||||
| 0 | Кабина*4 | 0901-111-11СП(SP) | ||||
| 0 | Кабина | 0901-111-11-10СП(SP) | ||||
| 0 | Кабина | 0901-111-11-20СП(SP) | ||||
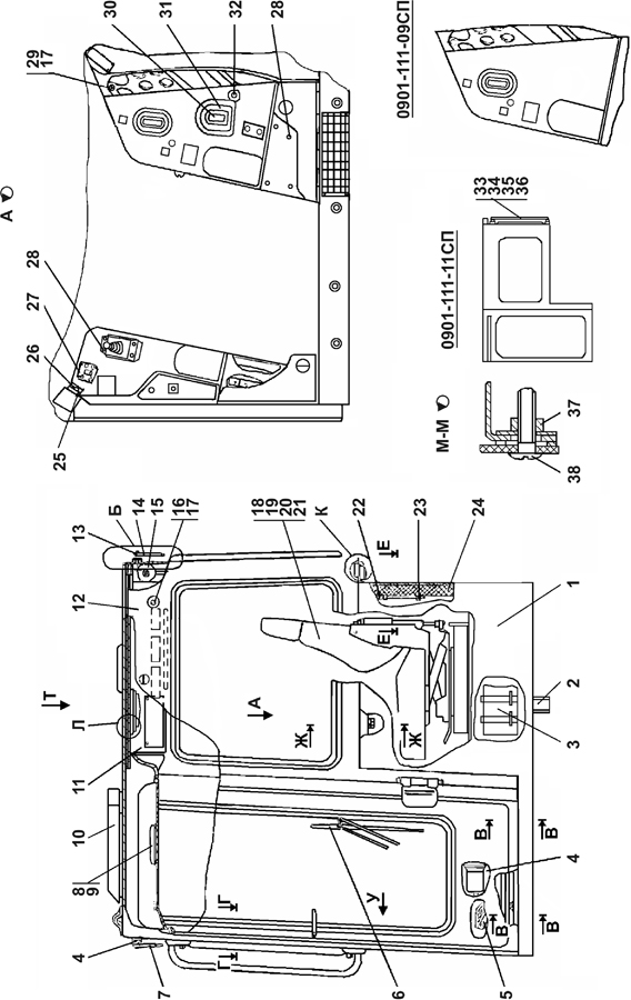
| 1 | Пол | 0901-24-1-02СП(SP) | ||||
| 1 | Пол | 0901-24-1-02-20СП | ||||
| 2 | Электрооборудование пола кабины | 1102-10-18-01СП(SP) | ||||
| 2 | Электрооборудование пола кабины | 1102-10-18-01-10СП | ||||
| 2 | Электрооборудование пола кабины | 1102-10-18-01-20СП | ||||
| 3 | Установка зависимого отопителя кабины | 0901-47-2СП(SP) | ||||
| 3 | Установка зависимого отопителя кабины | 0901-47-2-20СП(SP) | ||||
| 4 | Моторедуктор 525.3730 ТУ 37.459.078-86 | - | ||||
| 5 | Управление трактором | 0901-13-1-02СП(SP) | ||||
| 5 | Управление трактором | 0901-13-1-02-20СП | ||||
| 6 | Пантографное устройство стеклоочистителя 40.5205.800-04 ТУ 37.003.1323-87 | - | ||||
| 7 | Пантографное устройство стеклоочистителя 40.5205.800-09 ТУ 37.003.1323-87 | - | ||||
| 8 | Дефлектор*1,*3,*4 | 2501-89-55 | ||||
| 9 | Прижим*1,*3,*4 | 2501-89-56 | ||||
| 10 | Установка вентиляторов кабины*1,*3,*4 | 312001-57-2СП(SP) | ||||
| 10 | Установка вентиляторов кабины | 312001-57-2-20СП(SP) | ||||
| 11 | Машинокомплект интерьера кабины 1101-89-5МК ТУ 6305.0002-2006 | - | ||||
| 12 | Кабина | 2501-59-1СП(SP) | ||||
| 12 | Кабина | 2501-59-1-20СП(SP) | ||||
| 12 | Кабина*2 | 2501-59-1-01СП(SP) | ||||
| 12 | Кабина | 2501-59-1-01-20СП | ||||
| 13 | Электрооборудование крыши кабины | 1102-10-13СП(SP) | ||||
| 13 | Электрооборудование крыши кабины | 1102-10-13-10СП(SP) | ||||
| 13 | Электрооборудование крыши кабины | 1102-10-13-20СП(SP) | ||||
| 14 | Пантографное устройство стеклоочистителя 40.5205.800 ТУ 37.003.1323-87 | - | ||||
| 15 | Моторедуктор 52.3730 ТУ 37.459.078-86 | - | ||||
| 16 | Винт 2-4,2?50 | - | ||||
| 17 | Гайка 292685-П2 | - | ||||
| 18 | Установка сиденья | 0901-23-1СП(SP) | ||||
| 18 | Установка сиденья | 0901-23-1-20СП(SP) | ||||
| 19 | Болт М10-6g?30 ГОСТ 7796-70 | - | ||||
| 20 | Шайба 10 ОТ ГОСТ 6402-70 | - | ||||
| 21 | Шайба 10 ГОСТ 11371-78 | - | ||||
| 22 | Молоток | 2501-59-175СП(SP) | ||||
| 22 | Молоток | 2501-59-175-20СП(SP) | ||||
| 23 | Скоба | 2501-89-31 | ||||
| 23 | Скоба | 2501-89-31-20 | ||||
| 24 | Лист | 2501-89-171 | ||||
| 25 | Поручень 3302-8202200 | - | ||||
| 26 | Винт ВМ6-6g?16 ГОСТ 17473-80 | - | ||||
| 27 | Установка табличек*1,*2 | 2501-89-10-35СП(SP) | ||||
| 27 | Установка табличек | 2501-89-10-35-20СП | ||||
| 27 | Установка табличек*3 | 2501-89-10-36СП(SP) | ||||
| 27 | Установка табличек | 2501-89-10-36-20СП | ||||
| 27 | Установка табличек*4 | 2501-89-10-37СП(SP) | ||||
| 27 | Установка табличек | 2501-89-10-37-20СП | ||||
| 28 | Винт 4?16 ОСТ 37.001.187-81 | 45 9632 1017 | ||||
| 29 | Винт 2-4,2?25 | - | ||||
| 30 | Ручка 2110-1703088*1*2*4 | - | ||||
| 31 | Чехол гофрированный 200017141 | - | ||||
| 32 | Винт ВМ6-6g?16 ГОСТ 17475-80 | - | ||||
| 33 | Решетка*4 | 2501-59-176СП(SP) | ||||
| 34 | Болт М12?1,25-6g?20 ГОСТ 7796-70*4 | - | ||||
| 35 | Шайба 12 ОТ ГОСТ 6402-70*4 | - | ||||
| 36 | Шайба 12 ГОСТ 11371-78*4 | - | ||||
| 37 | Клипса | 2501-89-123СП(SP) | ||||
| 38 | Винт | 35 5440 | ||||
Обращаем Ваше внимание, что пункты отмеченные звездочкой, обязательны для заполнения.