| ||||||
| № п/п | Наименование | Код детали | ||||
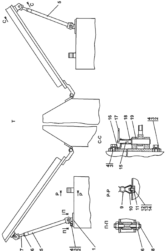
| 1 | Кронштейн | 2501-59-159СП(SP) | ||||
| 1 | Кронштейн | 2501-59-159-20СП(SP) | ||||
| 2 | Шайба 10 | 31 0170 | ||||
| 2 | Шайба 10 | 31 0170-20 | ||||
| 3 | Шайба 10 ОТ ГОСТ 6402-70 | - | ||||
| 4 | Болт М10-6g?30 ГОСТ 7796-70 | - | ||||
| 5 | Тяга | 2501-59-172СП(SP) | ||||
| 5 | Тяга | 2501-59-172-20СП(SP) | ||||
| 6 | Гайка М12?1,25 ГОСТ 5915-70 | - | ||||
| 7 | Наконечник | 1101-59-102СП(SP) | ||||
| 7 | Наконечник | 1101-59-102-20СП(SP) | ||||
| 8 | Винт | 2501-59-185 | ||||
| 8 | Винт | 2501-59-185-20 | ||||
| 9 | Скоба | 2501-89-31 | ||||
| 9 | Скоба | 2501-89-31-20 | ||||
| 10 | Упор | 2501-89-188 | ||||
| 11 | Планка | 1101-59-10 | ||||
| 11 | Планка | 1101-59-10-20 | ||||
| 12 | Винт В.М5-6g?16 ГОСТ 17473-80 | - | ||||
| 13 | Шайба 5 ГОСТ 6402-70 | - | ||||
| 14 | Шайба 5 | 31 0080 | ||||
| 14 | Шайба 5 | 31 0080-20 | ||||
| 15 | Стержень | 1101-59-3 | ||||
| 15 | Стержень | 1101-59-3-20 | ||||
| 16 | Уголок | 1101-59-4 | ||||
| 16 | Уголок | 1101-59-4-20 | ||||
| 17 | Кольцо | 46-43-105-01 | ||||
| 17 | Кольцо | 46-43-105-10 | ||||
| 18 | Пружина | 700-38-2517-01 | ||||
| 18 | Пружина | 700-38-2517-20 | ||||
| 19 | Кронштейн | 1101-59-101СП(SP) | ||||
| 19 | Кронштейн | 1101-59-101-20СП(SP) | ||||
Обращаем Ваше внимание, что пункты отмеченные звездочкой, обязательны для заполнения.