| ||||||
| № п/п | Наименование | Код детали | ||||
| 0 | Кабина* | 1101-111-63СП(SP) | ||||
| 0 | Кабина | 1101-111-63-10СП(SP) | ||||
| 0 | Кабина | 1101-111-63-20СП(SP) | ||||
| 0 | Кабина** | 1101-111-64СП(SP) | ||||
| 0 | Кабина | 1101-111-64-10СП(SP) | ||||
| 0 | Кабина | 1101-111-64-20СП(SP) | ||||
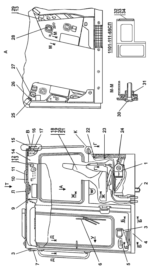
| 0 | Кабина*** | 1101-111-65СП(SP) | ||||
| 0 | Кабина | 1101-111-65-10СП(SP) | ||||
| 0 | Кабина | 1101-111-65-20СП(SP) | ||||
| 1 | Установка отопителя кабины | 1101-47-1СП(SP) | ||||
| 1 | Установка отопителя кабины | 1101-47-1-20СП(SP) | ||||
| 2 | Электрооборудование пола кабины | 1102-10-18-17СП(SP) | ||||
| 2 | Электрооборудование пола кабины | 1102-10-18-17-10СП | ||||
| 2 | Электрооборудование пола кабины | 1102-10-18-17-20СП | ||||
| 3 | Моторедуктор 525.3730 ТУ 37.459.078-86 | - | ||||
| 4 | Пол | 3501-24-1-01СП(SP) | ||||
| 4 | Пол | 3501-24-1-01-20СП | ||||
| 5 | Управление трактором | 2001-13-1-02СП(SP) | ||||
| 5 | Управление трактором | 2001-13-1-02-20СП | ||||
| 6 | Пантографное устройство стеклоочистителя 40.5205.800-04 ТУ 37.003.1323-87 | - | ||||
| 7 | Пантографное устройство стеклоочистителя 40.5205.800-09 ТУ 37.003.1323-87 | - | ||||
| 9 | Машинокомплект интерьера кабины 1101-89-3МК ТУ 6305.0002-2006 | - | ||||
| 10 | Панель | 2501-89-63 | ||||
| 11 | Панель | 2501-89-62 | ||||
| 12 | Винт 2-4,2?50 | - | ||||
| 13 | Гайка 292685-П2 | - | ||||
| 14 | Кабина | 2501-59-1-01СП(SP) | ||||
| 14 | Кабина | 2501-59-1-01-20СП | ||||
| 15 | Электрооборудование крыши кабины | 1102-10-13-02СП(SP) | ||||
| 15 | Электрооборудование крыши кабины | 1102-10-13-02-10СП | ||||
| 15 | Электрооборудование крыши кабины | 1102-10-13-02-20СП | ||||
| 16 | Пантографное устройство стеклоочистителя 40.5205.800 ТУ 37.003.1323-87 | - | ||||
| 17 | Моторедуктор 52.3730 ТУ 37.459.078-86 | - | ||||
| 18 | Установка сиденья | 1101-23-1СП(SP) | ||||
| 18 | Установка сиденья | 1101-23-1-20СП(SP) | ||||
| 19 | Болт М10-6g?30 ГОСТ 7796-70 | - | ||||
| 20 | Шайба 10 ОТ ГОСТ6402-70 | - | ||||
| 21 | Шайба 10 | 31 0170 | ||||
| 21 | Шайба 10 | 31 0170-20 | ||||
| 22 | Молоток | 2501-59-175СП(SP) | ||||
| 22 | Молоток | 2501-59-175-20СП(SP) | ||||
| 23 | Скоба | 2501-89-31 | ||||
| 23 | Скоба | 2501-89-31-20 | ||||
| 24 | Лист | 2501-89-171 | ||||
| 25 | Поручень 3302-8202200 | - | ||||
| 26 | Винт В.М6-6g?16 ГОСТ 17473-80 | - | ||||
| 27 | Установка табличек* | 2501-89-10-46СП(SP) | ||||
| 27 | Установка табличек | 2501-89-10-46-20СП | ||||
| 27 | Установка табличек** | 2501-89-10-47СП(SP) | ||||
| 27 | Установка табличек | 2501-89-10-47-20СП | ||||
| 27 | Установка табличек*** | 2501-89-10-48СП(SP) | ||||
| 27 | Установка табличек | 2501-89-10-48-20СП | ||||
| 28 | Чехол 2108-1703200 | - | ||||
| 29 | Винт 2-4,2?25 | - | ||||
| 30 | Винт | 35 5440 | ||||
| 31 | Клипса | 2501-89-123СП(SP) | ||||
| 32 | Болт М12?1,25-6g?20 | 28 0320*** | ||||
| 32 | Болт М12?1,25-6g?20 | 28 0320-20 | ||||
| 33 | Шайба 12 ОТ*** ГОСТ 6402-70 | - | ||||
| 34 | Шайба 12?2 | 31 0210*** | ||||
| 34 | Шайба 12?2 | 31 0210-20 | ||||
Обращаем Ваше внимание, что пункты отмеченные звездочкой, обязательны для заполнения.