| ||||||
| № п/п | Наименование | Код детали | ||||
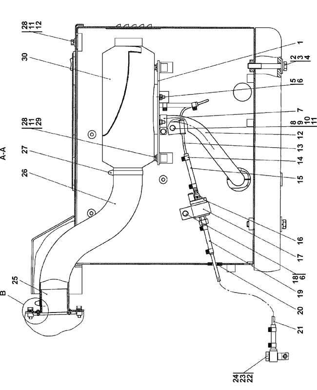
| 1 | Пластина | 2001-53-118 | ||||
| 2 | Болты М12?1,25-6g?80 | 28 0385 | ||||
| 2 | Болты М12?1,25-6g?80 | 28 0385-20 | ||||
| 3 | Шайба 12 ОТ ГОСТ 6402-70 | - | ||||
| 4 | Шайба 12?2 | 31 0210 | ||||
| 4 | Шайба 12?2 | 31 0210-20 | ||||
| 5 | Гайка М6* | - | ||||
| 6 | Шайба d=6,5мм* | - | ||||
| 7 | Хомут стяжной* | - | ||||
| 8 | Прокладка | 40 0310 | ||||
| 9 | Хомутик | 700-40-3310 | ||||
| 10 | Болт М8-6g?16 ГОСТ 7796-70 | - | ||||
| 11 | Шайба 8Т ГОСТ 6402-70 | - | ||||
| 12 | Шайба 8 | 31 0140 | ||||
| 12 | Шайба 8 | 31 0140-20 | ||||
| 13 | Трубка пластиковая 4?1,25* | - | ||||
| 14 | Хомут стяжной* | - | ||||
| 15 | Рукав 3,5?9,5* | - | ||||
| 16 | Насос топливный* | - | ||||
| 17 | Держатель насоса* | - | ||||
| 18 | Болт М6?30* | - | ||||
| 19 | Рукав 5?3* | - | ||||
| 20 | Кольцо | 700-40-6695 | ||||
| 21 | Трубка пластиковая* | - | ||||
| 22 | Прокладка | 46-43-313 | ||||
| 23 | Болт | 41 5125 | ||||
| 24 | Штуцер | 2001-53-71СП(SP) | ||||
| 25 | Воздухораспределитель* | - | ||||
| 26 | Труба гибкая* d=60 мм | - | ||||
| 27 | Хомут стяжной червячный* d=50-70мм | - | ||||
| 28 | Болт М8-6g?25 ГОСТ 7796-70 | - | ||||
| 29 | Шайба 8 | 31 0150 | ||||
| 29 | Шайба 8 | 31 0150-20 | ||||
| 30 | Отопитель независимый Airtronic D2 | 25 2116 05 0000 | ||||
Обращаем Ваше внимание, что пункты отмеченные звездочкой, обязательны для заполнения.