| ||||||
| № п/п | Наименование | Код детали | ||||
| 0 | Кабина* | 2501-59-1СП(SP) | ||||
| 0 | Кабина | 2501-59-1-20СП(SP) | ||||
| 0 | Кабина** | 2501-59-1-01СП(SP) | ||||
| 0 | Кабина | 2501-59-1-01-20СП(SP) | ||||
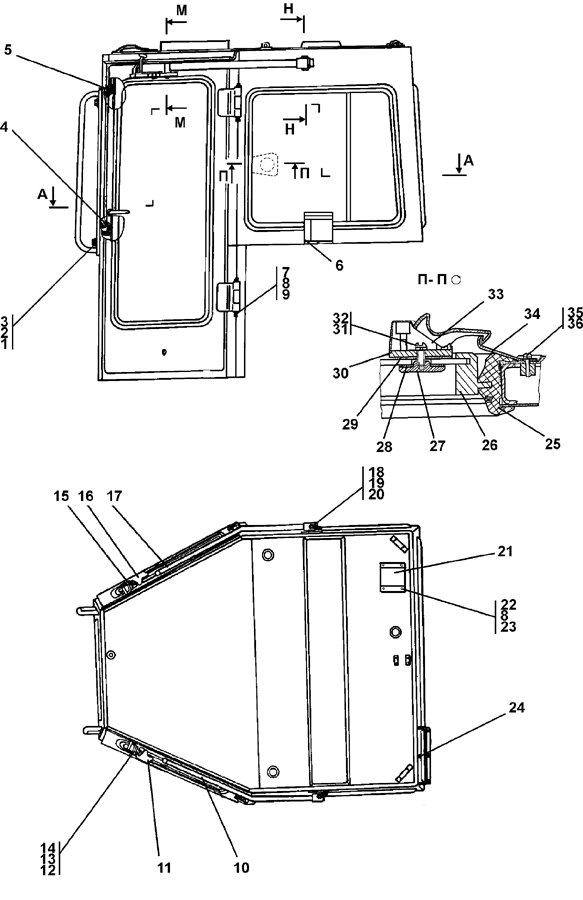
| 1 | Шайба 12?2 | 31 0210 | ||||
| 1 | Шайба 12?2 | 31 0210-20 | ||||
| 2 | Шайба 12 ОТ ГОСТ 6402-70 | - | ||||
| 3 | Болт М12?1,25-6g?20 | 28 0320 | ||||
| 3 | Болт М12?1,25-6g?20 | 28 0320-20 | ||||
| 4 | Лист | 2501-59-147-04 | ||||
| 5 | Лист | 2501-59-147-05 | ||||
| 6 | Панель | 2501-59-258-01 | ||||
| 7 | Болт М8-6g?20 ГОСТ 7796-70 | - | ||||
| 8 | Шайба 8Т ГОСТ 6402-70 | - | ||||
| 8 | Шайба 8Т ГОСТ 6402-70 | - | ||||
| 9 | Шайба 8 | 31 0140 | ||||
| 9 | Шайба 8 | 31 0140-20 | ||||
| 10 | Балка | 2501-59-157СП(SP) | ||||
| 10 | Балка | 2501-59-157-20СП(SP) | ||||
| 11 | Фиксатор | 2501-59-160-01СП(SP) | ||||
| 11 | Фиксатор | 2501-59-160-01-20СП(SP) | ||||
| 12 | Гайка М6 ГОСТ 5915-70 | - | ||||
| 13 | Шайба 6 | 31 0110 | ||||
| 13 | Шайба 6 | 31 0110-20 | ||||
| 14 | Винт ВМ6-6g?22 ГОСТ 17473-80 | - | ||||
| 15 | Пластина | 2501-59-186 | ||||
| 16 | Фиксатор | 2501-59-160СП(SP) | ||||
| 16 | Фиксатор | 2501-59-160-20СП(SP) | ||||
| 17 | Балка | 2501-59-157-01СП(SP) | ||||
| 17 | Балка | 2501-59-157-01-20СП | ||||
| 18 | Болт М10-6g?30 ГОСТ 7796-70 | - | ||||
| 19 | Шайба 10 ОТ ГОСТ 6402-70 | - | ||||
| 20 | Шайба 10 | 31 0170 | ||||
| 20 | Шайба 10 | 31 0170-20 | ||||
| 21 | Кронштейн | 2501-59-280 | ||||
| 21 | Кронштейн | 2501-59-280-20 | ||||
| 22 | Болт М8-6g?16 ГОСТ 7796-70 | - | ||||
| 23 | Шайба 8 | 31 0150 | ||||
| 23 | Шайба 8 | 31 0150 | ||||
| 23 | Шайба 8 | 31 0150-20 | ||||
| 23 | Шайба 8 | 31 0150-20 | ||||
| 24 | Пробка | 7879-4204-01 | ||||
| 25 | Окантовка | 2501-59-234 | ||||
| 26 | Рамка окна двери водителя (покупной) 3205-6403010СБ | - | ||||
| 27 | Стопор | 2501-59-277 | ||||
| 27 | Стопор | 2501-59-277-20 | ||||
| 28 | Прокладка | 2501-59-276 | ||||
| 28 | Прокладка | 2501-59-276-20 | ||||
| 29 | Прокладка | 2501-59-275 | ||||
| 29 | Прокладка | 2501-59-275-20 | ||||
| 30 | Прокладка | 2501-59-274 | ||||
| 30 | Прокладка | 2501-59-274-20 | ||||
| 31 | Шайба 6Т ГОСТ 6402-70 | - | ||||
| 32 | Винт ВМ6-6g?16 ГОСТ 17473-80 | - | ||||
| 33 | Замок форточки в сборе 3221-5403600 | - | ||||
| 34 | Крючок | 2501-59-278 | ||||
| 34 | Крючок | 2501-59-278-20 | ||||
| 35 | Винт ВМ4-6g?16 ГОСТ 17473-80 | - | ||||
| 36 | Шайба 4 ГОСТ 6402-70 | - | ||||
Обращаем Ваше внимание, что пункты отмеченные звездочкой, обязательны для заполнения.