| ||||||
| № п/п | Наименование | Код детали | ||||
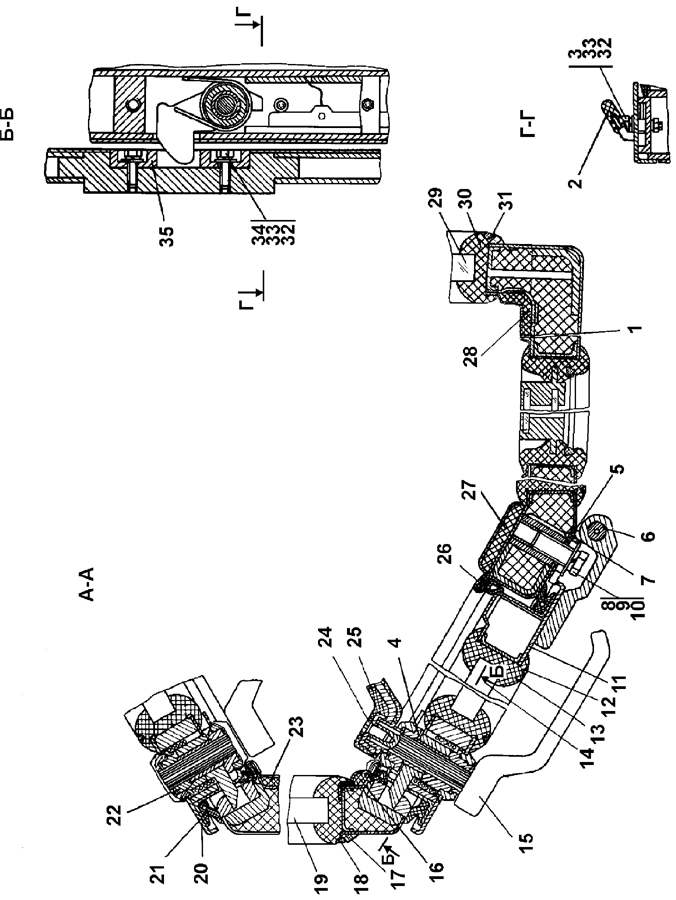
| 1 | Каркас* | 2501-59-101СП(SP) | ||||
| 1 | Каркас | 2501-59-101-20СП(SP) | ||||
| 1 | Каркас** | 2501-59-101-01СП(SP) | ||||
| 1 | Каркас | 2501-59-101-01-20СП | ||||
| 2 | Ручка | 2501-59-101 | ||||
| 3 | Болт М8-6g?20 ГОСТ 7796-70 | - | ||||
| 4 | Замок левый А1.2501-59-26 ТУ4980-001-05786040-2005 | - | ||||
| 5 | Планка | 401-59-422 | ||||
| 5 | Планка | 401-59-422-20 | ||||
| 6 | Стержень | 2501-59-105 | ||||
| 6 | Стержень | 2501-59-105-20 | ||||
| 7 | Створка | 46-59-245СП(SP) | ||||
| 7 | Створка | 46-59-245-20СП(SP) | ||||
| 8 | Болт М16?1,5-6g?38 | 28 0535 | ||||
| 8 | Болт М16?1,5-6g?38 | 28 0535-20 | ||||
| 9 | Шайба 16 ОТ ГОСТ 6402-70 | - | ||||
| 10 | Шайба 16 | 31 0270 | ||||
| 10 | Шайба 16 | 31 0270-20 | ||||
| 11 | Дверь | 2501-59-109СП(SP) | ||||
| 11 | Дверь | 2501-59-109-20СП(SP) | ||||
| 12 | Кант №23 | 46-59-419-01 | ||||
| 13 | Окантовка | 2501-59-73-01 | ||||
| 14 | Стеклопакет СПКТ ТУ21-0287200-005-91 | 2501-59-118СП(SP) | ||||
| 15 | Ручка | 2501-59-134СП(SP) | ||||
| 15 | Ручка | 2501-59-134-20СП(SP) | ||||
| 16 | Панель | 2501-59-145 | ||||
| 17 | Окантовка | 2501-59-73 | ||||
| 18 | Кант №23 | 46-59-419 | ||||
| 19 | Стеклопакет СПКТ ТУ21-0287200-005-91 | 2501-59-117СП(SP) | ||||
| 20 | Дверь | 2501-59-110СП(SP) | ||||
| 20 | Дверь | 2501-59-110-20СП(SP) | ||||
| 21 | Уплотнитель двери | 40 0460 | ||||
| 22 | Замок правый А1.2501-59-25 ТУ4980-001-05786040-2005 (в комплекте с ключами) | - | ||||
| 23 | Панель | 2501-59-145-01 | ||||
| 24 | Винт А1.2501-59-102 | - | ||||
| 25 | Ручка | 2501-59-135СП(SP) | ||||
| 25 | Ручка | 2501-59-135-20СП(SP) | ||||
| 26 | Уплотнитель 2107-6107018 (покупной) | - | ||||
| 27 | Панель | 2501-59-149 | ||||
| 28 | Панель | 2501-59-146 | ||||
| 29 | Стеклопакет СПКТ ТУ21-0287200-005-91 | 2501-59-120СП(SP) | ||||
| 30 | Окантовка | 2501-59-73-03 | ||||
| 31 | Кант №23 | 46-59-419-03 | ||||
| 32 | Шайба 8 | 31 0150 | ||||
| 32 | Шайба 8 | 31 0150 | ||||
| 32 | Шайба 8 | 31 0150-20 | ||||
| 32 | Шайба 8 | 31 0150-20 | ||||
| 33 | Шайба 8Т ГОСТ6402-70 | - | ||||
| 33 | Шайба 8Т ГОСТ6402-70 | - | ||||
| 34 | Болт М8-6g?30 ГОСТ 7796-70 | - | ||||
| 35 | Планка А1.2501-59-103 | - | ||||
Обращаем Ваше внимание, что пункты отмеченные звездочкой, обязательны для заполнения.