8 (391) 285-35-15
8 (391) 259-62-06
8 (391) 259-62-49
 info@in124.ru
USD: 79,4495EUR: 93,2274
Оборудование бульдозерное сферическое
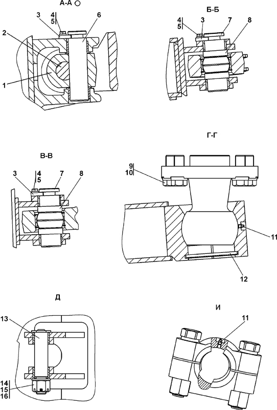
№ п/пНаименованиеКод детали
УХЛ
Т
У
1Крестовина211112-93-3
2
0
0
1Крестовина211112-93-3-20
0
2
0
2Ось211112-93-2
2
2
0
3Ригель011501-93-5
6
6
0
4Болт М12-6g?30 ГОСТ 7796-70-
12
12
0
5Шайба 12 ГОСТ 6402-70-
12
12
0
6Палец211112-93-1
2
2
0
7Палец011501-93-1
4
4
0
8Кольцо011501-93-2
8
8
0
9Болт28 0927
16
0
0
9Болт28 0927-20
0
16
0
10Шайба2501-93-4
16
0
0
10Шайба2501-93-4-20
0
16
0
11Масленка 1.2Ц6хр-
4
0
0
11Масленка 1.2Кд6хр-
0
4
0
12Заглушка012001-92-2
2
2
0
13Палец1501-26-509СП(SP)
2
2
0
14Гайка М30?230 0431
2
0
0
14Гайка М30?230 0431-20
0
2
0
15Шайба 3031 0410-01
2
0
0
15Шайба 3031 0410-20
0
2
0
16Шплинт 6,3?71 ГОСТ 397-79-
2
2
0

© ООО Инженерные машины, 2016