| ||||||
| № п/п | Наименование | Код детали | ||||
| 0 | Гидросистема бульдозерного оборудования | 011501-93-500СП(SP) | ||||
| 0 | Гидросистема бульдозерного оборудования | 011501-93-500-20СП | ||||
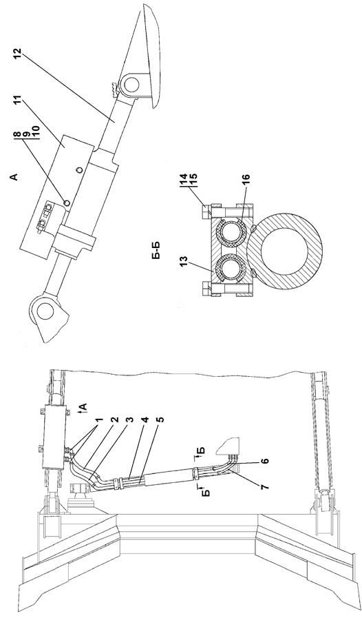
| 1 | Угольник | 46-26-314СП(SP) | ||||
| 1 | Угольник | 46-26-314-20СП(SP) | ||||
| 2 | Рукав высокого давления d16 армированный | 012001-93-512-03СП | ||||
| 2 | Рукав высокого давления d16 армированный | 012001-93-512-03-20СП | ||||
| 3 | Рукав высокого давления d16 армированный | 012001-93-512-02СП | ||||
| 3 | Рукав высокого давления d16 армированный | 012001-93-512-02-20СП | ||||
| 4 | Трубопровод | 011101-93-570-01СП | ||||
| 4 | Трубопровод | 011101-93-570-01-20СП | ||||
| 5 | Трубопровод | 011101-93-570-02СП | ||||
| 5 | Трубопровод | 011101-93-570-02-20СП | ||||
| 6 | Рукав высокого давления d16 армированный | 012001-93-512СП | ||||
| 6 | Рукав высокого давления d16 армированный | 012001-93-512-20СП | ||||
| 7 | Трубопровод | 01 2001-93-510-01СП | ||||
| 7 | Трубопровод | 01 2001-93-510-01-20СП | ||||
| 8 | Болт М20-6g?45 ГОСТ 7796-70 | - | ||||
| 9 | Шайба 20.ОТ ГОСТ 6402-70 | - | ||||
| 10 | Шайба 20 | 31 0320 | ||||
| 10 | Шайба 20 | 31 0320-20 | ||||
| 11 | Кожух | 011501-93-509СП(SP) | ||||
| 11 | Кожух | 011501-93-509-20СП | ||||
| 12 | Гидрораскос d160 | 011501-93-502СП(SP) | ||||
| 12 | Гидрораскос d160 | 011501-93-502-20СП | ||||
| 13 | Планка | 011501-93-633 | ||||
| 13 | Планка | 011501-93-633-20 | ||||
| 14 | Болт М12-6g?50 ГОСТ 7796-70 | - | ||||
| 15 | Шайба 12.ОТ ГОСТ 6402-70 | - | ||||
| 16 | Втулка | 40 0354-02 | ||||
Обращаем Ваше внимание, что пункты отмеченные звездочкой, обязательны для заполнения.