8 (391) 285-35-15
8 (391) 259-62-06
8 (391) 259-62-49
 info@in124.ru
USD: 79,4495EUR: 93,2274
Оборудование рыхлительное
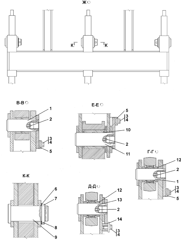
№ п/пНаименованиеКод детали
УХЛ
Т
У
1Палец011501-97-20СП(SP)
4
4
0
2Масленка 1.2Ц6хр-
12
0
0
2Масленка 1.2кд6хр-
0
12
0
3Болт М16-6g?3028 0521
22
0
0
3Болт М16-6g?3028 0521-20
0
22
0
4Шайба 16.ОТ ГОСТ 6402-70-
22
22
0
5Планка46-98-2
10
0
0
5Планка46-98-2-20
0
10
0
6Кольцо011501-97-1
10
10
0
7Штифт012001-97-4
3
3
0
8Шплинт 4?25 ГОСТ 397-79-
3
3
0
9Палец012001-97-1
3
3
0
10МанжетаТМ2501-11-18СП(SP)
8
8
0
11Палец011501-97-30СП(SP)
2
2
0
12Кольцо012001-97-2
15
15
0
13Палец011501-97-20-02СП
2
2
0
14Шайба31 5256
2
0
0
14Шайба31 5256-20
0
2
0

© ООО Инженерные машины, 2016