| ||||||
| № п/п | Наименование | Код детали | ||||
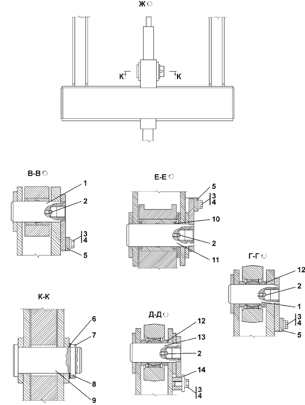
| 1 | Палец | 011501-97-20СП(SP) | ||||
| 2 | Масленка 1.2Ц6хр | - | ||||
| 2 | Масленка 1.2кд6хр | - | ||||
| 3 | Болт М16-6g?30 | 28 0521 | ||||
| 3 | Болт М16-6g?30 | 28 0521-20 | ||||
| 4 | Шайба 16.ОТ ГОСТ 6402-70 | - | ||||
| 5 | Планка | 46-98-2 | ||||
| 5 | Планка | 46-98-2-20 | ||||
| 6 | Кольцо | 011501-97-1 | ||||
| 7 | Штифт | 012001-97-4 | ||||
| 8 | Шплинт 4?25 ГОСТ 397-79 | - | ||||
| 9 | Палец | 012001-97-1 | ||||
| 10 | Манжета | ТМ2501-11-18СП(SP) | ||||
| 11 | Палец | 011501-97-30СП(SP) | ||||
| 12 | Кольцо | 012001-97-2 | ||||
| 13 | Палец | 011501-97-20-02СП | ||||
| 14 | Шайба | 31 5256 | ||||
| 14 | Шайба | 31 5256-20 | ||||
Обращаем Ваше внимание, что пункты отмеченные звездочкой, обязательны для заполнения.