| ||||||
| № п/п | Наименование | Код детали | ||||
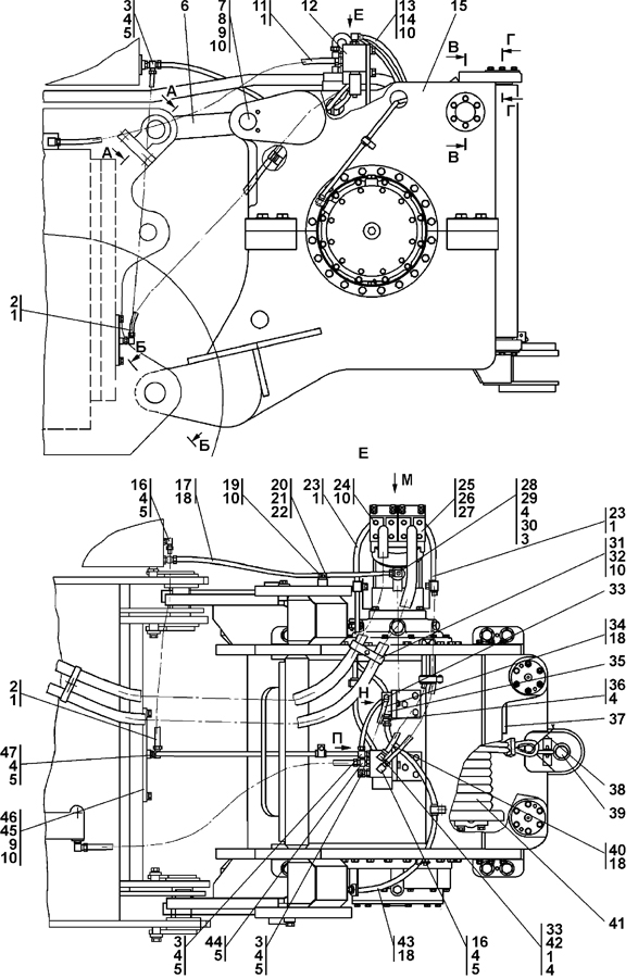
| 0 | Агрегат тяговый | 1501-96-1СП(SP) | ||||
| 0 | Агрегат тяговый | 1501-96-1-20СП(SP) | ||||
| 1 | Кольцо 012-016-25-2-51-1668 ТУ2531-260-00149245-00 | - | ||||
| 2 | Рукав d8 | 404-26-213-17СП(SP) | ||||
| 2 | Рукав d8 | 404-26-213-17-20СП | ||||
| 3 | Угольник | 311102-26-513СП(SP) | ||||
| 3 | Угольник | 311102-26-513-20СП | ||||
| 4 | Кольцо 018-022-25-2-51-1668 ТУ2531-260-00149245-00 | - | ||||
| 5 | Контргайка | Н.036.23.022 | ||||
| 5 | Контргайка | Н.036.23.022-01 | ||||
| 6 | Серьга | 1501-96-59-01 | ||||
| 6 | Серьга | 1501-96-59-01-20 | ||||
| 7 | Палец | 311102-93-22-01 | ||||
| 7 | Палец | 311102-93-22-01-20 | ||||
| 8 | Планка | 312501-94-103 | ||||
| 8 | Планка | 312501-94-103-20 | ||||
| 9 | Болт М12-6g?30 ГОСТ 7796-70 | - | ||||
| 10 | Шайба 12 ОТ ГОСТ 6402-70 | - | ||||
| 11 | Рукав d8 | 404-26-213-16СП(SP) | ||||
| 11 | Рукав d8 | 404-26-213-16-20СП | ||||
| 12 | Клапан | 311102-26-39СП(SP) | ||||
| 12 | Клапан | 311102-96-39-20СП | ||||
| 13 | Опора | 0901-96-60 | ||||
| 13 | Опора | 0901-96-60-20 | ||||
| 14 | Болт М12-6g?35 ГОСТ 7796-70 | - | ||||
| 15 | Лебедка | 1501-96-10СП(SP) | ||||
| 15 | Лебедка | 1501-96-10-20СП(SP) | ||||
| 16 | Угольник поворотный | 5001-26-77 | ||||
| 16 | Угольник поворотный | 5001-26-77-20 | ||||
| 17 | Рукав d8 | 311102-26-517СП(SP) | ||||
| 17 | Рукав d8 | 311102-26-517-20СП | ||||
| 18 | Кольцо 008-010-14-2-3 ГОСТ 18829-73 | - | ||||
| 19 | Болт М12?1,25-6g?25 ГОСТ 7796-70 | - | ||||
| 20 | Скоба | 2501-26-216 | ||||
| 20 | Скоба | 2501-26-216-20 | ||||
| 21 | Планка | 2501-26-217 | ||||
| 21 | Планка | 2501-26-217-20 | ||||
| 22 | Втулка | 40 0354-05 | ||||
| 23 | Рукав d8 | 0602-28-22-03СП(SP) | ||||
| 23 | Рукав d8 | 0602-28-22-03-20СП | ||||
| 24 | Болт М12-6g?40 ГОСТ 7796-70 | - | ||||
| 25 | Фланец | 2501-26-83 | ||||
| 25 | Фланец | 2501-26-83-20 | ||||
| 26 | Кольцо защитное | 44 0038 | ||||
| 27 | Кольцо 032-038-36-2-51-1668 ТУ2531-260-00149245-00 | - | ||||
| 28 | Тройник | 311102-26-510СП(SP) | ||||
| 28 | Тройник | 311102-26-510-20СП | ||||
| 29 | Штуцер | 41 5233 | ||||
| 29 | Штуцер | 41 5233-20 | ||||
| 30 | Кольцо 019-023-25-2-51-1668 ТУ2531-260-00149245-00 | - | ||||
| 31 | Бугель | 2501-98-551 | ||||
| 31 | Бугель | 2501-98-551-20 | ||||
| 32 | Болт М12?1,25-6g?40 ГОСТ 7796-70 | - | ||||
| 33 | Угольник | 311102-26-514СП(SP) | ||||
| 34 | Рукав d8 | 311102-26-517-19СП | ||||
| 34 | Рукав d8 | 311102-26-517-19-20СП | ||||
| 35 | Клапан | 3501-96-300СП(SP) | ||||
| 35 | Клапан | 3501-96-300-20СП | ||||
| 36 | Штуцер ввертной | 311102-26-566 | ||||
| 36 | Штуцер ввертной | 311102-26-566-20 | ||||
| 37 | Труба | 1501-96-52 | ||||
| 37 | Труба | 1501-96-52-20 | ||||
| 38 | Проволока КС5,0 ГОСТ 792-67 | - | ||||
| 39 | Палец | 312001-51-14СП(SP) | ||||
| 39 | Палец | 312001-51-14-20СП | ||||
| 40 | Рукав d8 | 311102-26-517-28СП | ||||
| 40 | Рукав d8 | 311102-26-517-28-20СП | ||||
| 41 | Канат | 1501-96-106СП(SP) | ||||
| 42 | Штуцер ввертной | 1102-96-91 | ||||
| 42 | Штуцер ввертной | 1102-96-91-20 | ||||
| 43 | Рукав d8 | 311102-26-517-04СП | ||||
| 43 | Рукав d8 | 311102-26-517-04-20СП | ||||
| 44 | Штуцер ввертной | 5001-26-78 | ||||
| 44 | Штуцер ввертной | 5001-26-78-20 | ||||
| 45 | Прокладка | 45 0271 | ||||
| 46 | Крышка | 1101-96-117-01СП | ||||
| 46 | Крышка | 1101-96-117-01-20СП | ||||
| 47 | Тройник | 2601-26-14СП(SP) | ||||
| 47 | Тройник | 2601-26-14-20СП(SP) | ||||
Обращаем Ваше внимание, что пункты отмеченные звездочкой, обязательны для заполнения.