| ||||||
| № п/п | Наименование | Код детали | ||||
| 0 | Электрооборудование | 2001-10-1-06СП(SP) 1* | ||||
| 0 | Электрооборудование | 2001-10-1-06-20СП(SP) | ||||
| 0 | Электрообору-дование | 2001-10-1-07СП(SP) 2* | ||||
| 0 | Электрооборудование | 2001-10-1-07-20СП(SP) | ||||
| 0 | Электрооборудование | 2001-10-1-08СП(SP) 3* | ||||
| 0 | Электрооборудование | 2001-10-1-08-20СП(SP) | ||||
| 0 | Электрообору-дование | 2001-10-1-09СП(SP) 4* | ||||
| 0 | Электрооборудование | 2001-10-1-09-20СП(SP) | ||||
| 1 | Электрооборудование передней облицовки | 2001-10-14СП(SP) | ||||
| 1 | Электрооборудование передней облицовки | 2001-10-14-10СП(SP) | ||||
| 1 | Электрооборудование передней облицовки | 2001-10-14-20СП(SP) | ||||
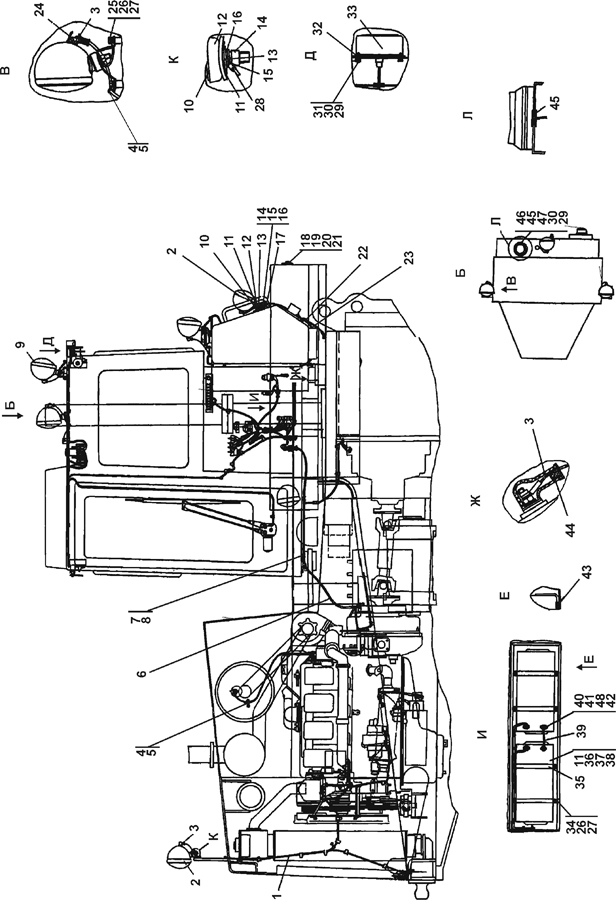
| 2 | Фара 3131.3711 010 | 4573324087 02 | ||||
| 2 | Фара 3136.3711 010 | 4573324085 04 | ||||
| 2 | Фара 3137.3711 010 | 4573324086 03 | ||||
| 3 | Наконечник | 700-40-5607 | ||||
| 4 | Хомутик | 41 5119 | ||||
| 5 | Кольцо | 700-40-6695 | ||||
| 6 | Установка электрооборудования на раме | 2001-10-11-06СП(SP) | ||||
| 6 | Установка электрооборудования на раме | 2001-10-11-06-10СП | ||||
| 6 | Установка электрооборудования на раме | 2001-10-11-06-20СП | ||||
| 7 | Прокладка | 700-40-6684-02 | ||||
| 8 | Хомутик | 700-41-2548 | ||||
| 9 | Установка фары | 404-10-270СП(SP) | ||||
| 9 | Установка фары | 404-10-270-10СП(SP) | ||||
| 9 | Установка фары | 404-10-270-20СП(SP) | ||||
| 10 | Опора | 700-40-6018 | ||||
| 11 | Опора | 46-10-86 | ||||
| 11 | Опора | 46-10-86-20 | ||||
| 12 | Опора | 46-10-85 | ||||
| 12 | Опора | 46-10-85-20 | ||||
| 13 | Кольцо 14?12?4 ОСТ38.05156-78 | - | ||||
| 14 | Гайка М12?1,25 ГОСТ 5915-70 | - | ||||
| 15 | Шайба 12 ОТ ГОСТ 6402-70 | - | ||||
| 16 | Шайба 12?2 ГОСТ 11371-78 | 31 0210 | ||||
| 17 | Провод | 2502-10-151-29СП(SP) | ||||
| 17 | Провод | 2502-10-151-29-20СП | ||||
| 18 | Винт В.М6-6g?12 ГОСТ 17473-80 | - | ||||
| 19 | Шайба 6Т ГОСТ 6402-70 | - | ||||
| 20 | Шайба 6 ГОСТ 11371-78 | 31 0110 | ||||
| 21 | Световозвращатель ФП310Е-О ТУ37.003.079-80 | 4573725695 03 | ||||
| 22 | Электрооборудование топливного бака(1*,2*) | 2001-10-13СП(SP) | ||||
| 22 | Электрооборудование топливного бака(1*,2*) | 2001-10-13-10СП(SP) | ||||
| 22 | Электрооборудование топливного бака(1*,2*) | 2001-10-13-20СП(SP) | ||||
| 22 | Электрооборудование топливного бака(3*,4*) | 2001-10-13-01СП(SP) | ||||
| 22 | Электрооборудование топливного бака(3*,4*) | 2001-10-13-01-10СП | ||||
| 22 | Электрооборудование топливного бака(3*,4*) | 2001-10-13-01-20СП | ||||
| 23 | Провод | 2502-10-151-40СП(SP) | ||||
| 23 | Провод | 2502-10-151-40-20СП | ||||
| 24 | Колодка гнездовая 602602 ОСТ 37.003.032-88 | 45 7373 9003 06 | ||||
| 25 | Болт М8-6g?16 ГОСТ 7796-70 | - | ||||
| 26 | Шайба 8Т ГОСТ 6402-70 | - | ||||
| 27 | Шайба 8 ГОСТ 11371-78 | 31 0150 | ||||
| 27 | Шайба 8 ГОСТ 11371-78 | 31 0150-20 | ||||
| 28 | Провод | 46-10-637СП(SP) | ||||
| 28 | Провод | 46-10-637-20СП(SP) | ||||
| 29 | Шайба 6 ГОСТ 11371-78 | 31 0110 | ||||
| 29 | Шайба 6 ГОСТ 11371-78 | 31 0110-20 | ||||
| 30 | Шайба 6Т ГОСТ 6402-70 | - | ||||
| 31 | Гайка М6 ГОСТ 5915-70 | - | ||||
| 32 | Прокладка | ТТ2501-10-8 | ||||
| 32 | Прокладка | ТТ2501-10-8-20 | ||||
| 33 | Фонарь освещения Номерного знака ФП-134Б ТУ 37.003.675-82 | 45 7372 6077 | ||||
| 34 | Гайка М8 ГОСТ 5915-70 | - | ||||
| 35 | Угольник | 2001-10-7 | ||||
| 35 | Угольник | 2007-10-7-20 | ||||
| 36 | Батарея 6СТ-190А ТУ16-729.384-83 (доп.замена на поз.37) | - | ||||
| 37 | Батареи необслуживаемые ТУ1924 РК39209526 Т00-002-2003 6СТ-190AL3M (взамен поз.36) | - | ||||
| 38 | Стержень | 46-10-113 | ||||
| 38 | Стержень | 46-10-113-20 | ||||
| 39 | Провод | 2001-10-118СП(SP) | ||||
| 39 | Провод | 2001-10-118-20СП | ||||
| 40 | Болт М10-6g?30 ГОСТ7796-70 | - | ||||
| 41 | Гайка М10 ГОСТ5915-70 | - | ||||
| 42 | Шайба 10 ГОСТ11371-78 | 31 0170 | ||||
| 43 | Прокладка | 40 0218 | ||||
| 43 | Прокладка | 40 0218-20 | ||||
| 44 | Заглушка | 40 0446 | ||||
| 45 | Кольцо | 700-40-6695 | ||||
| 46 | Маяк проблесковый | 312501-10-114СП(SP) | ||||
| 46 | Маяк проблесковый | 312501-10-114-20СП | ||||
| 47 | Винт В.М6-6g?25 ГОСТ17473-80 | - | ||||
| 48 | Шайба 10 ГОСТ6402-70 | - | ||||
Обращаем Ваше внимание, что пункты отмеченные звездочкой, обязательны для заполнения.