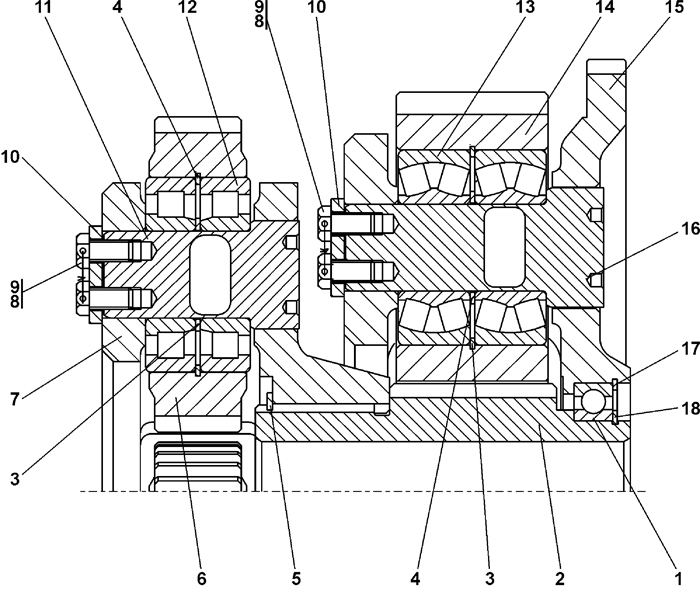
| ||||||
| № п/п | Наименование | Код детали | ||||
| 0 | Механизм планетарный | 1501-96-103СП(SP) | ||||
| 1 | Подшипник 113 ГОСТ 8338-75 | - | ||||
| 2 | Шестерня | 1501-96-32 | ||||
| 3 | Кольцо | 1501-96-62 | ||||
| 4 | Кольцо С90 ГОСТ 13941-86 | 700-58-2278 | ||||
| 5 | Кольцо С80 ГОСТ 13940-86 | 700-58-2122 | ||||
| 6 | Сателлит | 1501-96-30 | ||||
| 7 | Водило | 1501-96-29 | ||||
| 8 | Проволока 1,6-0-С ГОСТ 3282-74 | - | ||||
| 9 | Болт | 28 5221 | ||||
| 10 | Опора | 1501-96-61 | ||||
| 11 | Ось | 1501-96-38 | ||||
| 12 | Подшипник 42308ЛМ ГОСТ 8328-75 | - | ||||
| 13 | Подшипник 53608 ГОСТ 24696-81 | - | ||||
| 14 | Сателлит | 1501-96-34 | ||||
| 15 | Водило | 1501-96-33 | ||||
| 16 | Ось | 1501-96-39 | ||||
| 17 | Кольцо С100 ГОСТ 13941-86 | 58 0765 | ||||
| 18 | Кольцо | 58 5630 | ||||
Обращаем Ваше внимание, что пункты отмеченные звездочкой, обязательны для заполнения.