| ||||||
| № п/п | Наименование | Код детали | ||||
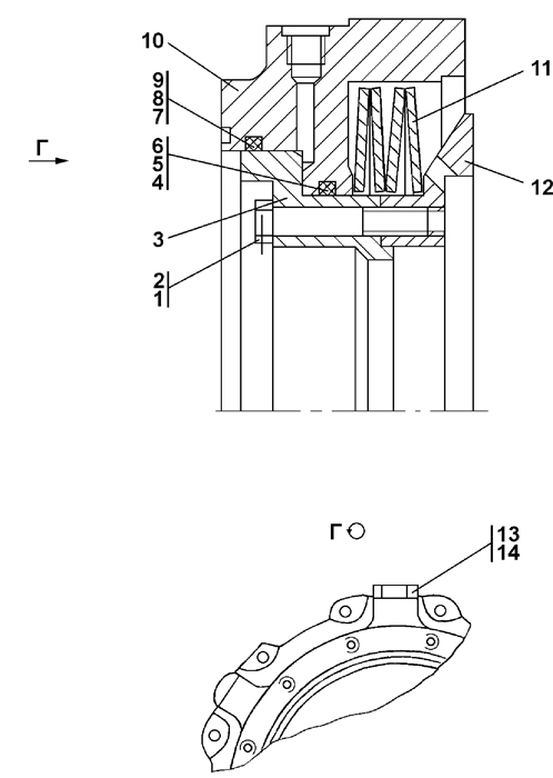
| 0 | Бустер | 3501-96-103СП(SP) | ||||
| 1 | Проволока 1,6-0-С ГОСТ 3282-74 | - | ||||
| 2 | Болт 3М12-6g?75 ГОСТ 7796-70 | 28 0382 | ||||
| 3 | Поршень | 3501-96-132 | ||||
| 4 | Кольцо уплотнительное (допускается замена на поз. 6 или поз.5) | 40 0473-01 | ||||
| 5 | Кольцо уплотнительное QRAR 04446-№8004 Каталог QRAR-RING SEAL (допускается замена на поз.6 или поз.4) | - | ||||
| 6 | Кольцо уплотнительное QRAR 04446-№7004 Каталог QRAR-RING SEAL (допускается замена на поз.5 или поз.4) | - | ||||
| 7 | Кольцо уплотнительное (допускается замена на поз. 8 или поз.9) | 40 0473-02 | ||||
| 8 | Кольцо уплотнительное QRAR 04449-№8004 Каталог QRAR-RING SEAL (допускается замена на поз.9 или поз.7) | - | ||||
| 9 | Кольцо уплотнительное QRAR 04449-№7004 Каталог QRAR-RING SEAL (допускается замена на поз.8 или поз.7) | - | ||||
| 10 | Корпус | 3501-96-106 | ||||
| 11 | Тарелка | 1101-18-7 | ||||
| 12 | Диск нажимной | 3501-96-131 | ||||
| 13 | Пробка | 37 5331 | ||||
| 14 | Кольцо 018-022-25-2-51-1668 ТУ2531-260-00149245-00 | - | ||||
Обращаем Ваше внимание, что пункты отмеченные звездочкой, обязательны для заполнения.