| ||||||
| № п/п | Наименование | Код детали | ||||
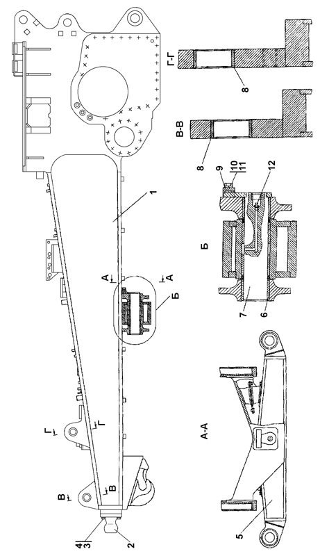
| 0 | Рама | 1512-11-1-03СП(SP) | ||||
| 0 | Рама | 1512-11-1-03-20СП(SP) | ||||
| 1 | Корпус с лонжеронами | Э1512-11-6-03СП | ||||
| 1 | Корпус с лонжеронами | Э1512-11-6-03-20СП | ||||
| 2 | Опора | 2501-11-46СП(SP) | ||||
| 2 | Опора | 2501-11-46-20СП(SP) | ||||
| 3 | Болт 3М24?2-6g?60 | 28 0823 | ||||
| 3 | Болт 3М24?2-6g?60 | 28 0823-20 | ||||
| 4 | Шайба | 31 5355 | ||||
| 5 | Балка | 1512-11-11СП(SP) | ||||
| 5 | Балка | 1512-11-11-20СП(SP) | ||||
| 6 | Втулка | 403-55-346-01 | ||||
| 7 | Палец | 1101-11-24-01СП(SP) | ||||
| 8 | Втулка | 403-55-346-01 | ||||
| 9 | Планка | 46-98-2 | ||||
| 10 | Болт М16-6g?30 | 28 0521 | ||||
| 10 | Болт М16-6g?30 | 28 0521-20 | ||||
| 11 | Шайба 16 ГОСТ 6402-70 | - | ||||
| 12 | Масленка 1.2.Ц6 | - | ||||
| 12 | Масленка 1.2.Кд6хр | - | ||||
Обращаем Ваше внимание, что пункты отмеченные звездочкой, обязательны для заполнения.