| ||||||
| № п/п | Наименование | Код детали | ||||
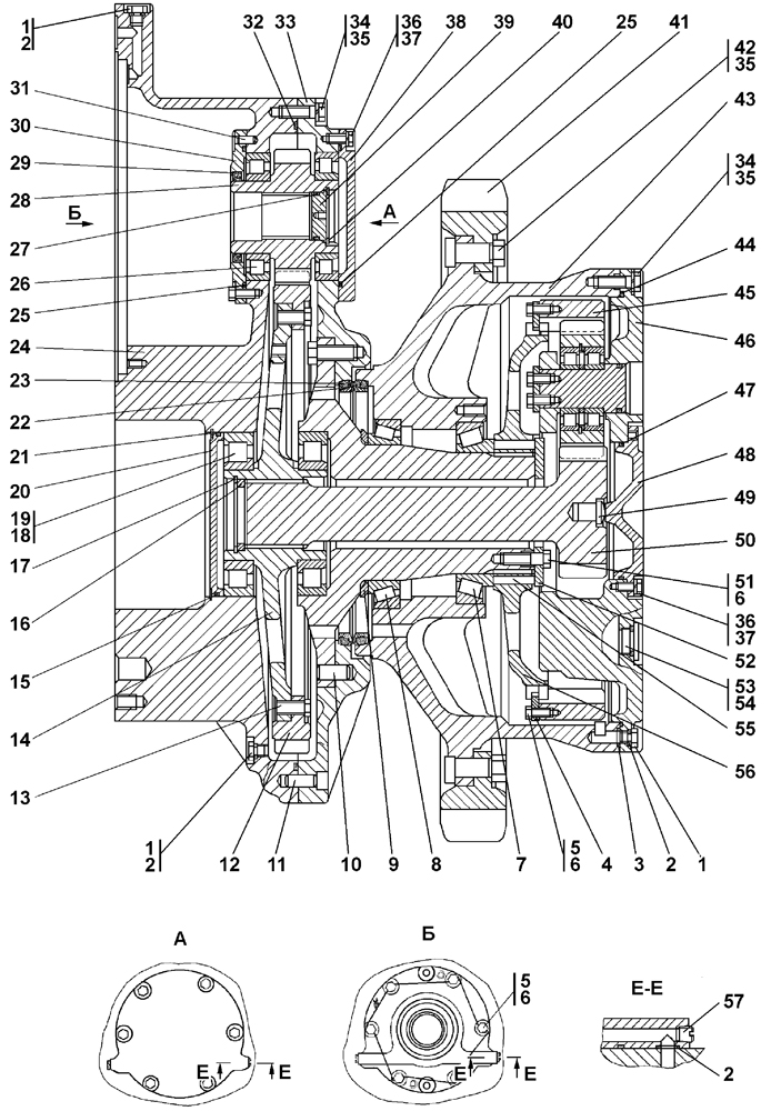
| 0 | Передача бортовая | 311501-19-10СП(SP) | ||||
| 0 | Передача бортовая | 311501-19-10-20СП(SP) | ||||
| 1 | Пробка | 37 5516 | ||||
| 1 | Пробка | 37 5516-20 | ||||
| 2 | Кольцо 012-016-25-2-51-1668 | - | ||||
| 3 | Кольцо 018-022-25-2-51-1668 | - | ||||
| 4 | Планка | 1501-19-20 | ||||
| 5 | Болт | 28 5330 | ||||
| 6 | Проволока 1,6-О-С ГОСТ 3282-74 | - | ||||
| 7 | Подшипник 2007136 | - | ||||
| 8 | Подшипник 6-2007934 | - | ||||
| 9 | Кольцо упорное | 1501-19-18 | ||||
| 10 | Штифт | 700-32-2177 | ||||
| 11 | Штифт | 32 0450 | ||||
| 12 | Шестерня | 1501-19-7 | ||||
| 13 | Болт М16?1,5-6g?38 | 28 0535 | ||||
| 13 | Болт М16?1,5-6g ?38 | 28 0535-20 | ||||
| 14 | Ступица | 1501-19-8 | ||||
| 15 | Кольцо 205-215-46-2-3 ГОСТ 18829-73 | - | ||||
| 16 | Кольцо упорное | 2001-19-17 | ||||
| 17 | Кольцо С95 ГОСТ 13941-86 | 58 0721 | ||||
| 18 | Подшипник NJ 224 (допускается замена на поз.19) | - | ||||
| 19 | Подшипник 42224Л (допускается замена на поз.18) ГОСТ 8328-75 | - | ||||
| 20 | Крышка | 2001-19-27 | ||||
| 21 | Кольцо С215 ГОСТ 13941-86 | 700-58-2139 | ||||
| 22 | Кольцо | 2001-19-28 | ||||
| 23 | Кольцо упругое | 40 0439 | ||||
| 24 | Корпус | 311501-19-1 | ||||
| 24 | Корпус | 311501-19-1-20 | ||||
| 25 | Кольцо 185-190-36-2-3 ГОСТ 18829-73 | - | ||||
| 26 | Подшипник 42219Д1Т ГОСТ 8328-75 | - | ||||
| 27 | Кольцо 055-065-58-2-51-1668 ТУ 2531-260-00149245-00 | - | ||||
| 28 | Шестерня | 1501-19-6 | ||||
| 29 | Манжета 95-120-12 BABSL AS DIN 3761 (Art.-Nr.2315) | - | ||||
| 30 | Крышка | 2001-19-25 | ||||
| 31 | Штифт | 32 5383 | ||||
| 32 | Кольцо | 40 0468-32 | ||||
| 33 | Корпус | 311501-19-100СП(SP) | ||||
| 33 | Корпус | 311501-19-100-20СП | ||||
| 34 | Болт М16?1,5-6g ?50 | 28 0550 | ||||
| 34 | Болт М16?1,5-6g ?50 | 28 0550-20 | ||||
| 35 | Шайба 16.ОТ ГОСТ 6402-70 | - | ||||
| 36 | Болт М12-6g ?25 ГОСТ 7796-70 | - | ||||
| 37 | Шайба 12.ОТ ГОСТ 6402-70 | - | ||||
| 38 | Крышка | 2001-19-26 | ||||
| 38 | Крышка | 2001-19-26-20 | ||||
| 39 | Крышка | 2001-19-16 | ||||
| 40 | Кольцо С70 ГОСТ 13941-86 | 58 0665 | ||||
| 41 | Сектор зубчатый | 1501-19-14 | ||||
| 42 | Болт | 2001-19-30 | ||||
| 42 | Болт | 2001-19-30-20 | ||||
| 43 | Ступица | 1501-19-4 | ||||
| 43 | Ступица | 1501-19-4-20 | ||||
| 44 | Кольцо | 40 0353 | ||||
| 45 | Шестерня | 1501-19-11 | ||||
| 46 | Водило | 1501-19-101СП(SP) | ||||
| 46 | Водило | 1501-19-101-20СП(SP) | ||||
| 47 | Кольцо 175-180-36-2-51-1668 ТУ 2531-260-00149245-00 | - | ||||
| 48 | Крышка | 2001-19-15 | ||||
| 48 | Крышка | 2001-19-15-20 | ||||
| 49 | Пята | 2501-19-28 | ||||
| 50 | Шестерня | 1501-19-9 | ||||
| 51 | Болт | 28 5556 | ||||
| 52 | Шайба | 1501-19-19 | ||||
| 53 | Пробка | 700-37-2140 | ||||
| 53 | Пробка | 700-37-2140-20 | ||||
| 54 | Кольцо 045-050-30-2-51-1668 ТУ 2531-260-00149245-00 | - | ||||
| 55 | Палец | 1501-19-21 | ||||
| 56 | Муфта | 1501-19-12 | ||||
| 57 | Пробка 3-КГ 1/8 ТУ 23.1.506-91 | 37 0150-08 | ||||
Обращаем Ваше внимание, что пункты отмеченные звездочкой, обязательны для заполнения.