| ||||||
| № п/п | Наименование | Код детали | ||||
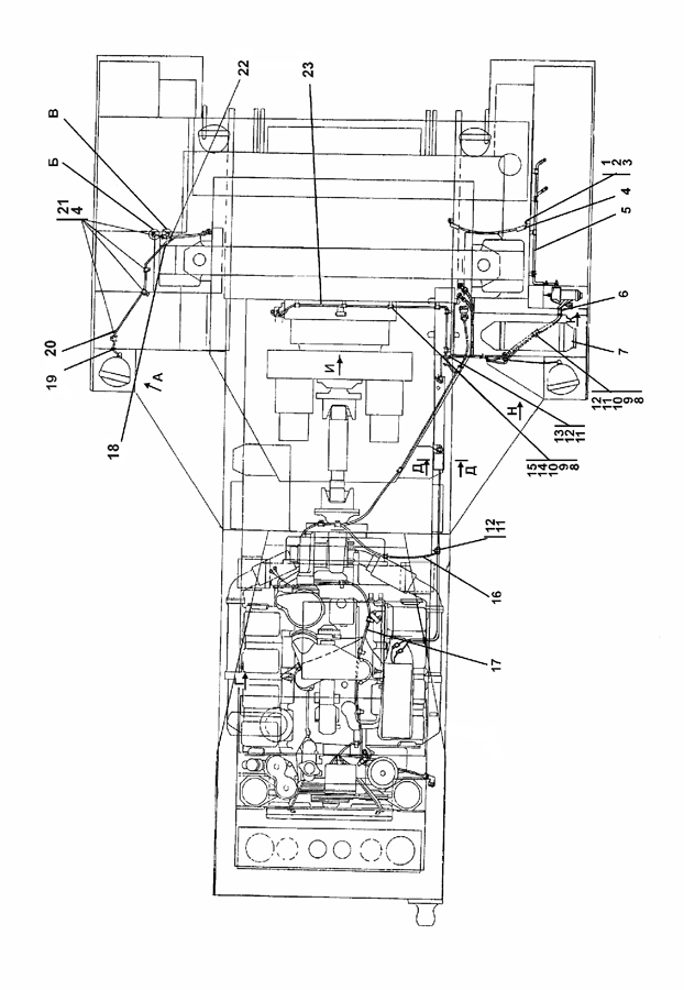
| 0 | Установка электрооборудования на раме | 2001-10-11-06СП(SP) | ||||
| 0 | Установка электрооборудования на раме | 2001-10-11-06-10СП | ||||
| 0 | Установка электрооборудования на раме | 2001-10-11-06-20СП | ||||
| 1 | Болт М12?1,25-6g?20 | 28 0320 | ||||
| 1 | Болт М12?1,25-6g?20 | 28 0320-20 | ||||
| 2 | Шайба 12 ОТ ГОСТ 6402-70 | - | ||||
| 3 | Шайба 12?2 | 31 0210 | ||||
| 3 | Шайба 12?2 | 31 0210-20 | ||||
| 4 | Провод | 401-10-111-01СП(SP) | ||||
| 4 | Провод | 401-10-111-01-20СП | ||||
| 5 | Установка электрооборудования в контейнере АКБ | 2001-10-17СП(SP) | ||||
| 5 | Установка электрооборудования в контейнере АКБ | 2001-10-17-10СП(SP) | ||||
| 5 | Установка электрооборудования в контейнере АКБ | 2001-10-17-20СП(SP) | ||||
| 6 | Кольцо | 700-40-6736 | ||||
| 7 | Установка электрооборудования в контейнере отопителя | 2001-10-16СП(SP) | ||||
| 7 | Установка электрооборудования в контейнере отопителя | 2001-10-16-20СП(SP) | ||||
| 8 | Шайба 8 | 31 0150 | ||||
| 8 | Шайба 8 | 31 0150-20 | ||||
| 9 | Шайба 8Т ГОСТ 6402-70 | - | ||||
| 10 | Болт М8-6g?16 ГОСТ 7796-70 | - | ||||
| 11 | Хомутик | 700-41-3179 | ||||
| 12 | Прокладка | 700-40-6684-04 | ||||
| 13 | Бонка | 05 582 | ||||
| 14 | Прокладка | 700-40-6684-06 | ||||
| 15 | Хомутик | 41 5119 | ||||
| 16 | Провод | 2001-10-110СП(SP) | ||||
| 16 | Провод | 2001-10-110-20СП(SP) | ||||
| 17 | Электрооборудование двигателя | 1506-10-12СП(SP) | ||||
| 17 | Электрооборудование двигателя | 1506-10-12-20СП(SP) | ||||
| 18 | Колодка гнездовая 602601 ОСТ 37 003 032-88 | - | ||||
| 19 | Кольцо | 700-40-6695 | ||||
| 20 | Провод | 2001-10-110-24СП(SP) | ||||
| 20 | Провод | 2001-10-110-24-20СП | ||||
| 21 | Хомутик | 41 5090 | ||||
| 22 | Жгут | 2001-10-105СП(SP) | ||||
| 22 | Жгут | 2001-10-105-20СП(SP) | ||||
| 23 | Жгут | 2001-10-103СП(SP) | ||||
| 23 | Жгут | 2001-10-103-20СП(SP) | ||||
Обращаем Ваше внимание, что пункты отмеченные звездочкой, обязательны для заполнения.