| ||||||
| № п/п | Наименование | Код детали | ||||
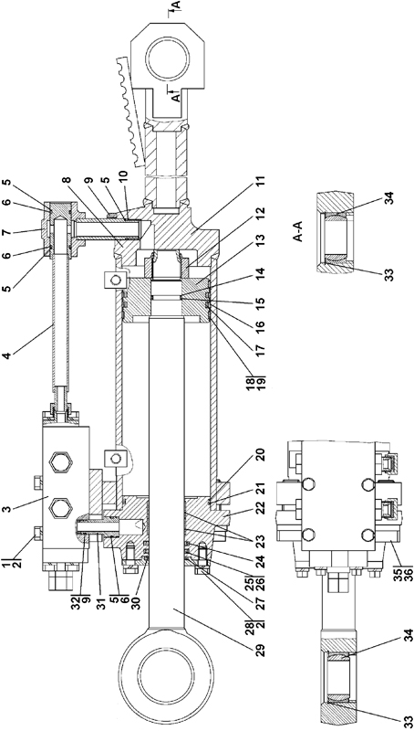
| 0 | Гидрораскос d160 | 011501-93-502-01СП | ||||
| 0 | Гидрораскос d160 | 011501-93-502-01-20СП | ||||
| 1 | Болт М16?1,5-6g?105 | 28 0570 | ||||
| 1 | Болт М16?1,5-6g?105 | 28 0570-20 | ||||
| 2 | Шайба 16 ОТ ГОСТ 6402-70 | - | ||||
| 3 | Гидрозамок | 011501-93-508СП(SP) | ||||
| 3 | Гидрозамок | 011501-93-508-20СП | ||||
| 4 | Трубопровод | 011501-93-507-01СП | ||||
| 4 | Трубопровод | 011501-93-507-01-20СП | ||||
| 5 | Кольцо защитное | 2501-98-550 | ||||
| 6 | Кольцо 032-038-36-2-51-1668 ТУ2531-260-00149245-00 | - | ||||
| 7 | Угольник | 011501-93-506СП(SP) | ||||
| 7 | Угольник | 011501-93-506-20СП | ||||
| 8 | Корпус | 211512-93-501СП(SP) | ||||
| 9 | Контргайка | 41 5431 | ||||
| 9 | Контргайка | 41 5431-20 | ||||
| 10 | Кольцо 022-026-25-2-51-1668 ТУ2531-260-00149245-00 | - | ||||
| 11 | Корпус | 011501-93-513СП(SP) | ||||
| 12 | Гайка специальная | 312001-26-110-01 | ||||
| 13 | Поршень | 012001-97-568-01 | ||||
| 14 | Кольцо 040-048-46-2-51-1668 ТУ2531-260-00149245-00 | - | ||||
| 15 | Кольцо защитное | 46-93-607-02 | ||||
| 16 | Кольцо уплотнительное | 46-26-1512 | ||||
| 17 | Кольцо 040-155-85-2-51-1668 ТУ2531-260-00149245-00 | - | ||||
| 18 | Втулка опорная (допускается замена на дет.поз.18) | 46-26-1509 | ||||
| 19 | Кольцо опорно-направляющее поршневое Е21Т-160-15-4,0 ТУ2290-004-48774662-2002 | - | ||||
| 20 | Кольцо 150-160-58-2-51-1668 ТУ2531-260-00149245-00 | - | ||||
| 21 | Шайба защитная | 2601-26-27 | ||||
| 22 | Крышка | 012001-97-567 | ||||
| 23 | Кольцо опорно-направляющее штоковое Е22Т-063-30-2,5 ТУ2290-004-48-774662-2002 | - | ||||
| 24 | Уплотнение штоковое Е01-063-12 ТУ2290-001-48774662-2000 | - | ||||
| 25 | Кольцо уплотнительное | 312001-26-109-01 | ||||
| 26 | Кольцо 070-080-58-2-51-1668 ТУ2531-260-00149245-00 | - | ||||
| 27 | Грязесъемник 3-d ГОСТ 24811-81 | 2501-93-506-04СП(SP) | ||||
| 28 | Болт М16?1,5-6g?38 | 28 0535 | ||||
| 28 | Болт М16?1,5-6g?38 | 28 0535-20 | ||||
| 29 | Шток | 011501-93-601-12 | ||||
| 29 | Шток | 011501-93-601-12-20 | ||||
| 30 | Скребок | 312001-26-108 | ||||
| 31 | Втулка | 011501-93-617 | ||||
| 31 | Втулка | 011501-93-617-20 | ||||
| 32 | Кольцо защитное | 2501-93-561 | ||||
| 33 | Кольцо С90 ГОСТ 13941-86 | 700-58-2278-10 | ||||
| 34 | Подшипник ШСЛ-60 ТУ 4649-020-05808824-2005 | - | ||||
| 35 | Болт М30?2-6g?80 | 28 0930 | ||||
| 35 | Болт М30?2-6g?80 | 28 0930-20 | ||||
| 36 | Шайба | 31 5412 | ||||
Обращаем Ваше внимание, что пункты отмеченные звездочкой, обязательны для заполнения.