| ||||||
| № п/п | Наименование | Код детали | ||||
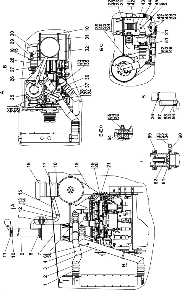
| 0 | Установка систем воздухоочистки и выпуска | Э1506-05-1СП | ||||
| 0 | Установка систем воздухоочистки и выпуска | Э1506-05-1-20СП | ||||
| 1 | Шланг 3071049* | - | ||||
| 2 | Хомут 3926704* | - | ||||
| 3 | Воздуховод | 1506-05-11СП(SP) | ||||
| 3 | Воздуховод | 1506-05-11-20СП(SP) | ||||
| 4 | Воздуховод | 1506-05-12СП(SP) | ||||
| 4 | Воздуховод | 1506-05-12-20СП(SP) | ||||
| 5 | Кольцо 14?20 МН 4152-62 | - | ||||
| 6 | Пробка | 37 5430 | ||||
| 6 | Пробка | 37 5430-20 | ||||
| 7 | Глушитель | 1502-05-20-02СП(SP) | ||||
| 7 | Глушитель | 1502-05-20-02-20СП | ||||
| 8 | Хомут | 1102-05-31-01СП(SP) | ||||
| 8 | Хомут | 1102-05-31-01-20СП | ||||
| 9 | Труба выпускная | 1106-05-21СП(SP) | ||||
| 9 | Труба выпускная | 1106-05-21-20СП(SP) | ||||
| 10 | Болт | 28 5230 | ||||
| 10 | Болт | 28 5230-20 | ||||
| 11 | Крышка с хомутом | 1102-05-37СП(SP) | ||||
| 11 | Крышка с хомутом | 1102-05-37-20СП(SP) | ||||
| 12 | Труба | 1502-05-25-01СП(SP) | ||||
| 12 | Труба | 0502-25-25-01-20СП | ||||
| 13 | Хомут | 46-60-366СП(SP) | ||||
| 13 | Хомут (допускается замена на поз. 14) | 46-60-366-20СП(SP) | ||||
| 14 | Шланговый хомут DIN 3017-AS40-60/12C7-W2 (допускается замена на поз. 13) | - | ||||
| 15 | Рукав | 46 1401-25 | ||||
| 15 | Рукав | 46 1401-25-20 | ||||
| 16 | Воздухозаборник | 404-05-27СП(SP) | ||||
| 16 | Воздухозаборник | 404-05-27-20СП(SP) | ||||
| 17 | Воздухоочиститель циклонный | 1502-05-13-СП(SP) | ||||
| 17 | Воздухоочиститель циклонный | 1502-05-13-20СП(SP) | ||||
| 18 | Кронштейн | Э1506-05-526СП | ||||
| 18 | Кронштейн | Э1506-05-526-20СП | ||||
| 19 | Шайба | 31 0225 | ||||
| 20 | Болт 3М12-6g?35 ГОСТ 7796-70 | 28 0359-01 | ||||
| 20 | Болт 3М12-6g?35 ГОСТ 7796-70 | 28 0359-01-20 | ||||
| 21 | Проволока 1,6-0-С ГОСТ 3282-74 | - | ||||
| 22 | Болт М12?1,25-6g?40 ГОСТ 7796-70 | - | ||||
| 23 | Шайба 12 ОТ ГОСТ 6402-70 | - | ||||
| 24 | Шайба 12?2 ГОСТ 11371-78 | 31 0210 | ||||
| 24 | Шайба 12?2 ГОСТ 11371-78 | 31 0210-20 | ||||
| 25 | Стяжка | Э1506-05-528СП | ||||
| 25 | Стяжка | Э1506-05-528-20СП | ||||
| 26 | Стяжка | Э1506-05-827 | ||||
| 26 | Стяжка | Э1506-05-827-20 | ||||
| 27 | Хомут 155740* | - | ||||
| 28 | Рукав 3030788* | - | ||||
| 29 | Индикатор засоренности воздушного фильтра (178957)* | - | ||||
| 30 | Воздуховод | 1506-05-10СП(SP) | ||||
| 30 | Воздуховод | 1506-05-10-20СП(SP) | ||||
| 31 | Хомут | 313506-05-24СП(SP) | ||||
| 31 | Хомут | 313506-05-24-20СП | ||||
| 32 | Воздухоочиститель | 1502-05-12-01СП(SP) | ||||
| 32 | Воздухоочиститель | 1502-05-12-01-20СП | ||||
| 33 | Болт М8-6g?30 ГОСТ 7796-70 | - | ||||
| 34 | Шайба 8Т ГОСТ 6402-70 | - | ||||
| 35 | Шайба 8 ГОСТ 6958-78 | 31 0140 | ||||
| 35 | Шайба 8 ГОСТ 6958-78 | 31 0140-20 | ||||
| 36 | Хомут | 46-47-189СП(SP) | ||||
| 36 | Хомут | 46-47-189-20СП(SP) | ||||
| 37 | Кронштейн | 1506-05-28СП(SP) | ||||
| 37 | Кронштейн | 1506-05-28-20СП(SP) | ||||
| 38 | Болт М12?1,25-6g?30 ГОСТ 7796-70 | 28 0342 | ||||
| 38 | Болт М12?1,25-6g?30 ГОСТ 7796-70 | 28 0342-20 | ||||
| 39 | Болт 3М12-6g?50 ГОСТ 7796-70 | 28 0359-02 | ||||
| 39 | Болт 3М12-6g?50 ГОСТ 7796-70 | 28 0359-02-20 | ||||
| 40 | Гайка М12 ГОСТ 5915-70 | - | ||||
| 41 | Компенсатор Dу 100, Pу1 СК-525.000.00СБ (допускается замена на поз.42) | - | ||||
| 42 | Компенсатор З-Д1096М СБ (допускается замена на поз.41) | - | ||||
| 43 | Хомут | 1102-05-31СП(SP) | ||||
| 43 | Хомут | 1102-05-31-20СП | ||||
| 44 | Газовод | 1506-05-21СП(SP) | ||||
| 44 | Газовод | 1506-05-21-20СП(SP) | ||||
| 45 | Кронштейн | Э1506-05-527СП | ||||
| 45 | Кронштейн | Э1506-05-527-20СП | ||||
| 46 | Втулка | Э1506-05-837 | ||||
| 47 | Шайба | 31 5186 | ||||
| 47 | Шайба | 31 5180-20 | ||||
| 48 | Болт 3М10-6g?80 ГОСТ 7796-70 | 28 0266-01 | ||||
| 48 | Болт 3М10-6g?80 ГОСТ 7796-70 | 28 0266-01-20 | ||||
| 49 | Шайба 10 ОТ ГОСТ 6402-70 | - | ||||
| 50 | Шайба 10 ГОСТ 11371-78 | 31 0170 | ||||
| 50 | Шайба 10 ГОСТ 11371-78 | 31 0170-20 | ||||
| 51 | Хомут XS 9258* | - | ||||
| 52 | Шайба | 46-11-476-01 | ||||
| 52 | Шайба | 46-11-476-01-20 | ||||
| 53 | Болт 3М10-6g?30 ГОСТ 7796-70 | 28 0240 | ||||
| 53 | Болт 3М10-6g?30 ГОСТ 7796-70 | 28 0240-20 | ||||
| 54 | Прокладка | 45 0033 | ||||
| 54 | Прокладка | 45 0033-20 | ||||
| 55 | Гайка М8 ГОСТ 5915-70 | - | ||||
| 56 | Шайба 8 ГОСТ 11371-78 | 31 0150 | ||||
| 56 | Шайба 8 ГОСТ 11371-78 | 31 0150-20 | ||||
| 57 | Кронштейн | 1506-05-26СП(SP) | ||||
| 57 | Кронштейн | 1506-05-26-20СП(SP) | ||||
| 58 | Болт М8-6g?20 ГОСТ 7796-70 | - | ||||
| 59 | Направляющая | 0602-05-32СП(SP) | ||||
| 60 | Хомут | 403-05-25 | ||||
| 60 | Хомут | 403-05-25-20 | ||||
| 61 | Корпус | 0602-05-45 | ||||
| 62 | Клапан | 0602-05-46 | ||||
Обращаем Ваше внимание, что пункты отмеченные звездочкой, обязательны для заполнения.