| ||||||
| № п/п | Наименование | Код детали | ||||
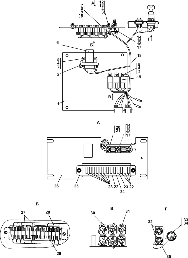
| 0 | Блок выключателей | 1106-10-140-03СП(SP) | ||||
| 1 | Плата | 1102-10-149-01СП | ||||
| 1 | Плата | 1102-10-149-01-20СП | ||||
| 2 | Провод | 312001-10-109-05СП | ||||
| 2 | Провод | 312001-10-109-05-20СП | ||||
| 3 | Шайба 6 ГОСТ 11371-78 | 31 0110 | ||||
| 4 | Шайба 6Т ГОСТ 6402-70 | - | ||||
| 5 | Винт В.М6-6g?12 ГОСТ 17473-80 | - | ||||
| 6 | Контактор КТ 127-УХЛ | 45 7373 6001 09 | ||||
| 6 | Контактор КТ 127-Э | 45 7373 6002 08 | ||||
| 6 | Контактор КТ 127-Т | 45 7373 6003 07 | ||||
| 7 | Прокладка | 700-40-6684-03 | ||||
| 8 | Хомутик | 700-41-3307 | ||||
| 9 | Болт М8-6g?16 ГОСТ 7796-70 | - | ||||
| 10 | Шайба 8Т ГОСТ 6402-70 | - | ||||
| 11 | Шайба 8 ГОСТ 11371-78 | 31 0150 | ||||
| 12 | Винт В.М6-6g?22 ГОСТ 17473-80 | - | ||||
| 13 | Гайка М6 ГОСТ 5915-70 | - | ||||
| 14 | Винт В.М4-6g?16 ГОСТ 17473-80 | - | ||||
| 15 | Гайка М4 ГОСТ 5927-70 | - | ||||
| 16 | Шайба 4 ГОСТ 6402-70 | - | ||||
| 17 | Шайба 4 | 31 0050 | ||||
| 17 | Шайба 4 | 31 0050-20 | ||||
| 18 | Жгут | 1106-10-141СП(SP) | ||||
| 18 | Жгут | 1106-10-141-20СП(SP) | ||||
| 19 | Реле 901.3747 ТУ 37.003.1418-94 | 45 7374 8383 | ||||
| 20 | Блок защиты БЗ-30, УХЛЗ, 30В | 34 2443 0021 00 | ||||
| 20 | Блок защиты БЗ-30, УХЛЗ, 30В Экспорт | - | ||||
| 21 | Предохранитель ПВ-100АС, УХЛЗ, 30В | 34 2449 2111 05 | ||||
| 21 | Предохранитель ПВ-100АС, УХЛЗ, 30В Экспорт | 34 2449 2112 04 | ||||
| 22 | Предохранитель 30А 356.3722 | 45 7373 1529 00 | ||||
| 23 | Предохранитель 10А 352.3722 | 45 7373 1525 00 | ||||
| 24 | Предохранитель 20А 354.3722 | 45 7373 1527 00 | ||||
| 25 | Блок предохранителей 41.3722.00-09 ТУ37.469.027-98 | 45 7373 1694 | ||||
| 26 | Панель | 1102-10-111-03СП(SP) | ||||
| 26 | Панель | 1102-10-111-03-20СП | ||||
| 27 | Провод | 1102-10-184-01СП(SP) | ||||
| 27 | Провод | 1102-10-184-01-20СП | ||||
| 28 | Провод | 1102-10-184СП(SP) | ||||
| 28 | Провод | 1102-10-184-20СП(SP) | ||||
| 29 | Провод | 1102-10-175СП(SP) | ||||
| 29 | Провод | 1102-10-175-20СП(SP) | ||||
| 30 | Провод | 2501-10-129-33СП(SP) | ||||
| 30 | Провод | 2501-10-129-33-20СП | ||||
| 31 | Провод 110 | 1102-10-153-01СП(SP) | ||||
| 31 | Провод 110 | 1102-10-153-01-20СП | ||||
| 32 | Выключатель кнопочный 11.3704.000-01 ТУ37.003.710-80 | 45 7373 4401-05 | ||||
| 33 | Выключатель ВК 353 | 45 7373 4267 | ||||
| 33 | Выключатель ВК 353 Э | 45 7373 4268 | ||||
| 33 | Выключатель ВК 353 Т | 45 7373 4269 | ||||
| 34 | Гайка 157.000 | - | ||||
| 35 | Провод | 1102-10-175-02СП(SP) | ||||
| 35 | Провод | 1102-10-175-02-20СП | ||||
Обращаем Ваше внимание, что пункты отмеченные звездочкой, обязательны для заполнения.