| ||||||
| № п/п | Наименование | Код детали | ||||
| 0 | Электрооборудование крыши кабины | 1102-10-13-01СП(SP) | ||||
| 0 | Электрооборудование крыши кабины | 1102-10-13-01-10СП | ||||
| 0 | Электрооборудование крыши кабины | 1102-10-13-01-20СП | ||||
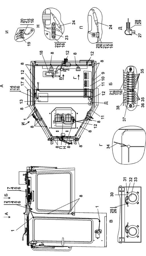
| 1 | Кольцо | 700-40-6682 | ||||
| 2 | Прокладка | 700-40-6684-02 | ||||
| 3 | Хомутик | 700-41-3187 | ||||
| 4 | Болт М8-6g?16 ГОСТ 7796-70 | - | ||||
| 5 | Шайба 8Т ГОСТ 6402-70 | - | ||||
| 6 | Шайба 8 | 31 0150 | ||||
| 6 | Шайба 8 | 31 0150-20 | ||||
| 7 | Кронштейн | 1102-10-22 | ||||
| 7 | Кронштейн | 1102-10-22-20 | ||||
| 8 | Прокладка | 700-40-6684-05 | ||||
| 9 | Жгут | 1102-10-166СП(SP) | ||||
| 9 | Жгут | 1102-10-166-20СП(SP) | ||||
| 10 | Щиток выключателей | 1102-10-165СП(SP) | ||||
| 11 | Прокладка | 700-40-6684-04 | ||||
| 12 | Кольцо | 700-40-6695 | ||||
| 13 | Жгут | 1102-10-135СП(SP) | ||||
| 13 | Жгут | 1102-10-135-20СП(SP) | ||||
| 14 | Болт М6-6g?16 ГОСТ 7798-70 | - | ||||
| 15 | Шайба 6Т ГОСТ 6402-70 | - | ||||
| 16 | Шайба 6 | 31 0110 | ||||
| 16 | Шайба 6 | 31 0110-20 | ||||
| 17 | Комплект монтажных частей | - | ||||
| 18 | Светильник автотранспортный СИЕУ453754.009-01 ТУ-4573-029-25616989-2004 | - | ||||
| 19 | Колодка гнездовая 602606 ОСТ37.003.032-88 | - | ||||
| 20 | Провод | 404-10-180-51СП(SP) | ||||
| 20 | Провод | 404-10-180-51-20СП | ||||
| 21 | Винт В.М6-6g?12 | - | ||||
| 22 | Винт В.М6-6g?22 | - | ||||
| 23 | Панель соединительная 14.3723.000 ТУ37.003.1358-93 | - | ||||
| 24 | Колодка гнездовая 602601 ОСТ37.003.032-88 | - | ||||
| 25 | Хомутик | 41 5045 | ||||
| 26 | Прокладка | 700-40-6684-08 | ||||
| 27 | Колодка гнездовая 6026023 ОСТ37.003.032-88 | - | ||||
| 28 | Колпачок (взамен поз.29) | 40 0195 | ||||
| 29 | Наконечник (взамен поз. 28) | 700-40-5607 | ||||
| 30 | Система акустическая автомобильная ЯУЗа АС-1352 ТУ658-019-53906226-2003 | - | ||||
| 31 | Клипса | - | ||||
| 32 | Винт самонарезающий | - | ||||
| 33 | Сетка защитная | - | ||||
| 34 | Провод | 1102-10-136СП(SP) | ||||
| 34 | Провод | 1102-10-136-20СП(SP) | ||||
| 35 | Провод | 1102-10-175СП(SP) | ||||
| 35 | Провод | 1102-10-175-20СП(SP) | ||||
| 36 | Предохранитель 41.3722.00-09 ТУ37.469.027-98 | - | ||||
| 37 | Предохранитель 30А 356.3722 ТУ37.469.013-95 | - | ||||
| 38 | Предохранитель 10А 352.3722 ТУ37.469.013-95 | - | ||||
| 39 | Гайка М6 ГОСТ 5915-70 | - | ||||
Обращаем Ваше внимание, что пункты отмеченные звездочкой, обязательны для заполнения.