| ||||||
| № п/п | Наименование | Код детали | ||||
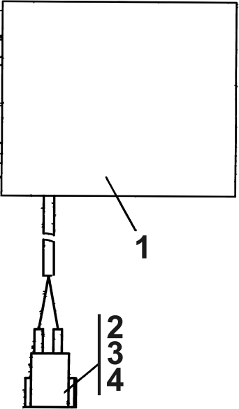
| 0 | Кондиционер | 1102-10-176СП(SP) | ||||
| 1 | Кондиционер KL-2С | - | ||||
| 2 | Колодка штыревая 502604 ОСТ37.003.032-88 | 45 7373 9008 | ||||
| 3 | Штырь 103612 ОСТ37.003.032-88 | 45 7373 8004 | ||||
| 4 | Трубка 305ТВ-40, 4 | - | ||||
| 4 | Трубка 305ТВ-40Т,4 | - | ||||
Обращаем Ваше внимание, что пункты отмеченные звездочкой, обязательны для заполнения.