| ||||||
| № п/п | Наименование | Код детали | ||||
| 0 | Каток опорный* | 1501-21-44-02СП(SP) | ||||
| 0 | Каток опорный | 1501-21-44-02-20СП | ||||
| 0 | Каток опорный** | 1501-21-44-03СП(SP) | ||||
| 0 | Каток опорный | 1501-21-44-03-20СП | ||||
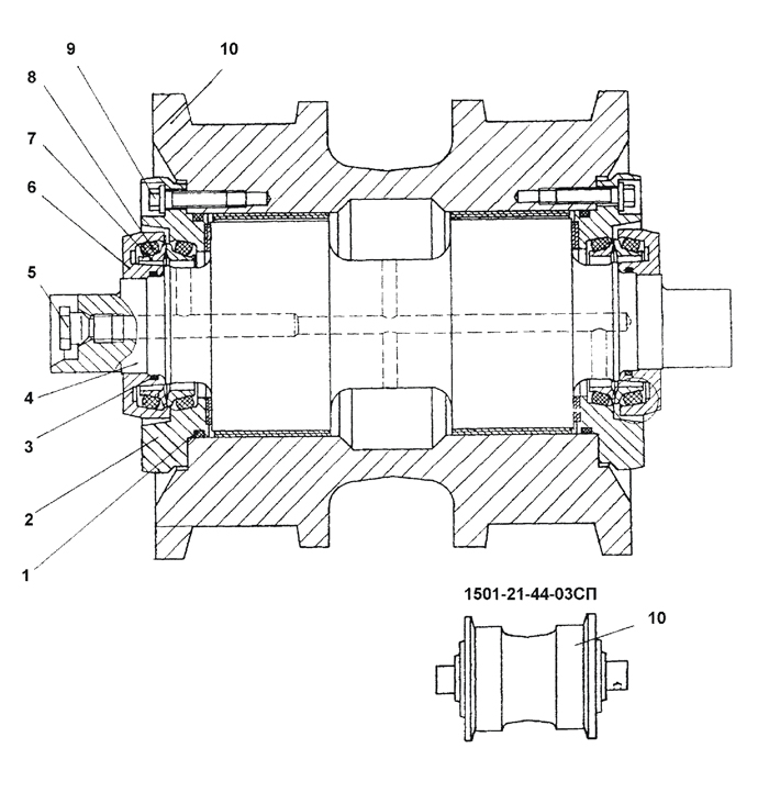
| 1 | Кольцо 118-124-36-2-51-1668 ТУ 2531-260-00149245-00 | - | ||||
| 2 | Фланец | 1501-21-75СП(SP) | ||||
| 3 | Кольцо 055-060-30-2-51-1668 ТУ 2531-260-00149245-00 | - | ||||
| 4 | Ось | 1501-21-160* | ||||
| 4 | Ось | 1501-21-161** | ||||
| 5 | Пробка | 37 5509 | ||||
| 5 | Пробка | 37 5509-20 | ||||
| 6 | Крышка | 1501-21-107 | ||||
| 7 | Кольцо уплотнительное | 1501-21-142 | ||||
| 8 | Кольцо упругое | 40 0452 | ||||
| 9 | Болт | 2501-21-411 | ||||
| 9 | Болт | 2501-21-411-20 | ||||
| 10 | Каток* | 1501-21-64СП(SP) | ||||
| 10 | Каток | 1501-21-64-20СП(SP) | ||||
| 10 | Каток** | 1501-21-64-01СП(SP) | ||||
| 10 | Каток | 1501-21-64-01-20СП | ||||
Обращаем Ваше внимание, что пункты отмеченные звездочкой, обязательны для заполнения.