| ||||||
| № п/п | Наименование | Код детали | ||||
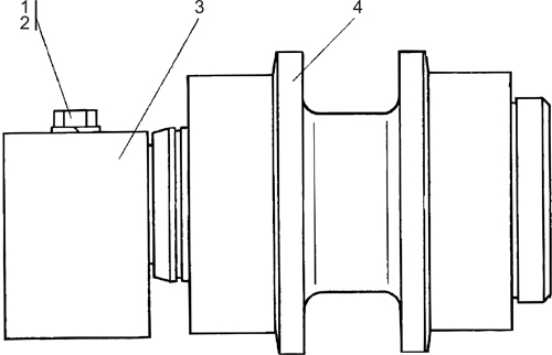
| 0 | Каток поддерживающий | 1501-21-10СП(SP) | ||||
| 0 | Каток поддерживающий | 1501-21-10-20СП(SP) | ||||
| 1 | Болт М20-6g?85 | 28 0742 | ||||
| 1 | Болт М20-6g?85 | 28 0742-20 | ||||
| 2 | Шайба ГОСТ 6402-70 | - | ||||
| 3 | Опора | 1501-21-122 | ||||
| 4 | Каток поддерживающий | 1501-21-15СП(SP) | ||||
| 4 | Каток поддерживающий | 1501-21-15-20СП(SP) | ||||
Обращаем Ваше внимание, что пункты отмеченные звездочкой, обязательны для заполнения.