| ||||||
| № п/п | Наименование | Код детали | ||||
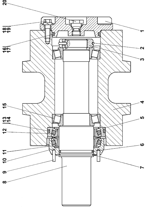
| 0 | Каток поддерживающий | 1501-21-15СП(SP) | ||||
| 0 | Каток поддерживающий | 1501-21-15-20СП(SP) | ||||
| 1 | Крышка | 1101-21-123 | ||||
| 2 | Кольцо стопорное | 1501-21-125 | ||||
| 3 | Гайка специальная | 1501-21-124 | ||||
| 4 | Каток | 1501-21-54СП(SP) | ||||
| 5 | Корпус уплотнения | 1501-21-120 | ||||
| 6 | Кольцо 055-065-58-2-51-1668 ТУ2531-260-00149245-00 | - | ||||
| 7 | Кольцо | 58 5630 | ||||
| 9 | Штифт | 32 5180 | ||||
| 8 | Ось | 1501-21-119 | ||||
| 10 | Крышка | 1501-21-121 | ||||
| 11 | Кольцо уплотнительное | 1501-21-142 | ||||
| 12 | Кольцо упругое | 40 0452 | ||||
| 13 | Кольцо 104-110-36-2-3 ГОСТ 18829-73/ТУ 38.005204-84 (допускается замена на поз.14) | 253111010025 | ||||
| 14 | Кольцо 104-110-36-2-3 ТУ 38.005204-84 (допускается замена на поз.13) | - | ||||
| 15 | Подшипник 7210 ТУ37.006.162-89 | - | ||||
| 16 | Кольцо 084-090-36-2-51-1668 ТУ2531-260-00149245-00 (допускается замена на поз.17) | - | ||||
| 17 | Кольцо 084-090-36-2-3 ГОСТ 18829-73/ТУ 38.005204-84 (допускается замена на поз.16) | - | ||||
| 18 | Болт М10-6g?30 ГОСТ 7796-70 | - | ||||
| 19 | Шайба 10 ОТ ГОСТ 6402-70 | - | ||||
| 20 | Пробка | 37 5509 | ||||
| 20 | Пробка | 37 5509-20 | ||||
Обращаем Ваше внимание, что пункты отмеченные звездочкой, обязательны для заполнения.